принцип работы, плюсы и минусы использования
Несмотря на то, что энергосберегающие лампочки постепенно вытесняются светодиодными, они все еще удерживают лидирующую позицию по числу продаж. По мнению аналитиков такая ситуация будет сохраняться от двух до пяти лет, поэтому имеет смысл рассмотреть конструкцию этих осветительных приборов, принцип работы, а также другие аспекты, связанные с их функционированием.
Что представляют собой энергосберегающие источники света?
По сути это люминесцентные лампы, название энергосберегающие они получили в ходе рекламной компании, в которой основной упор делался именно на эту особенность осветительного прибора. В результате на бытовом уровне данный термин прочно укрепился за компактными люминесцентными источниками, изготовленными под цоколи Е27 и Е14, поскольку ими можно было беспроблемно заменить лампы накаливания.
Заметим, что исходя из характеристик светодиодных источников света, у них больше прав на термин «энергосберегающие», но поскольку в массовой продаже они появились на несколько лет позже, это название за ними не закрепилось.
С другой стороны, не возникает путаницы, когда мы просим энергосберегающую лампу, можно не сомневаться, то продавец предложит выбор из люминесцентных источников.
Виды энергосберегающих ламп
В первую очередь, чтобы не возникало путаницы, давайте определимся с термином «энергосберегающие». Так правильно называть источники, потребляющие значительно меньше электроэнергии, чем лампы накаливания с равным по интенсивности световым потоком. При этом энергосберегающие источники света можно использовать вместо ЛН не внося изменения в конструкцию осветительного прибора. То есть эти лампы можно вкрутить в стандартные патроны E27 и Е14.
Под выше изложенное определение подходят два вида ламп:
- люминесцентные;
- светодиодные.
Каждый из перечисленных видов в свою очередь делится на обычные лампы с постоянным световым потоком и регулируемым, при помощи специального устройства (диммира). Эти приборы работают только с тем типом ламп, для которых предназначены, то есть нельзя управлять световым потоком ЛЛ при помощи диммира для светодиодных источников, и наоборот.
Помимо этого имеется классификация по спектру светового потока, она более широко известна под термином «температура белого света». Наибольшее распространение получили три варианта:
- Теплый, имеет мягкий желтоватый оттенок, близок по спектру к ЛН. Маркируется как 2700K, 3000K.
- Естественный, спектр таких источников наиболее близок к солнечному освещению. Маркировка 4200K.
- Холодный, источники обладают ярким белым светом (6000K), при более высоких температурах проявляется небольшой синий оттенок (6400K).
Первый вариант отлично подходит для спальни и зон отдыха, второй для детских и обычных комнат, включая гостиные, последний, как правило, используют для освещения рабочих помещений и офисов.
Разобравшись с типами, перейдем к принципу работы. Описание светодиодных источников можно найти на нашем сайте, поэтому основное внимание мы уделили ЛЛ.
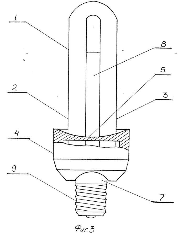
Конструктивные особенности
Практически все источники света данной категории имеют однотипную конструкцию.
Обозначения:
- А – колба осветительного прибора.
- В – электронное пускорегулирующее устройство.
- С – корпус с жестко закрепленным цоколем.
Принцип работы
Чтобы объяснить, как работает данный осветительный прибор, необходимо показать конструкцию его основного элемента – газоразрядной лампы.
Обозначения:
- А – Контакты катода.
- В – Цоколь колбы, изготавливается из изоляционного материала.
- С – Вольфрамовая спираль.
- D – Герметичная трубка из стекла;
- Е – Люминофорное покрытие внутренней поверхности трубки.
Алгоритм работы следующий:
- Подается напряжение на вольфрамовые спирали, они нагревают инертный газ, что способствует образованию паров ртути.

- На катоды подается импульс высокого напряжения с разным потенциалом, в результате между ними образуется ионизированный поток.
- Электроны, сталкиваясь с атомами ртути, формируют ультрафиолет.
- Это излучение воздействует на специальное покрытие стеклянной трубки, что вызывает его свечение в видимом спектре.
Электронное пускорегулирующее устройство, расположенное в корпусе компактного люминесцентного осветительного прибора, управляет вышеописанным процессом.
Плюсы, минусы и некоторые аспекты энергосберегающих источников
Мы специально объединили в одном разделе все особенности люминесцентных осветительных приборов, поскольку некоторые из них, мягко говоря, довольно спорные и требуют пояснений. Начнем с основной черты, которая дала название данной категории.
Насколько экономно энергосбережение?
Несмотря на рекламу, фактическая экономия электроэнергии, по сравнению с ЛН, у энергосберегающих источников не превышает пятикратной.
Причем это только у брендовых изделий высокого качества. С другой стороны стоимость таких приборов также в несколько раз выше.
Собственно, покупка оправдает себя при эксплуатации от полугода до года (в зависимости от производителя и мощности). Но необходимо принимать во внимание деструктивные факторы, снижающие время службы этих устройств, к таковым относятся:
- Скачки напряжения. Учитывая ограниченные размеры электронного баланса, в нем проблематично установить стабилизатор напряжения, обеспечивающий надежную защиту от помех и бросков. В результате существенно снижается ресурс электронного блока, поэтому нередки случаи, когда осветительные приборы выходят из строя через несколько месяцев эксплуатации. Исправить ситуации можно установив стабилизатор напряжения на вводе в квартиру.
Получить подробную информацию об этом оборудовании, его принципе работы и подключении, можно на нашем сайте.
- Частые включения-выключения. Любой газоразрядный источник освещения критичен к частым переходным процессам.
Производители указывают срок службы в районе 9-10 тысяч часов, при условии, что включение и выключение будет производиться раз в сутки. Как вы понимаете, в реальности это происходит чаще, но даже при этих условиях ресурс будет не менее 3-3,5 тысяч часов, что в любом случае больше, чем у обычных ЛН. - Прожиг и ремиссия. Следует учитывать, что у ЛЛ для достижения максимальное свечения необходимо от 80 до 250 часов эксплуатации. Этот период принято называть «прожигом». После достижения пика, начинает происходить процесс постепенной ремиссии, отражающийся на снижении уровня светового потока. У осветительных приборов данного типа через год эксплуатации, этот показатель может уменьшиться на 30%. Поэтому заявленные производителями показатели сопоставимой мощности 1х5, мягко говоря, несколько оптимистичны. На практике это значение ниже, у брендовой продукции 1х4 и китайских изделий – 1х3.
О качестве светового потока
На рисунке, приведенном ниже, приводится спектры различных искусственных источников света и солнечного освещения.
В качестве энергосберегающего прибора приведена двухполосная ЛЛ. Как видно, ее спектр значительно беднее, по сравнению с другими источниками.
В настоящее время такие лампы практически не производятся. Современные ЛЛ, как правило, выпускаются с трех-пяти полосным люминофором, что положительно отражается на качестве светового потока, приближая его спектр к солнечному освещению. Естественно, что источники с многополосным люминофором стоят несколько дороже, но благодаря современным технологиям эта разница стала несущественной.
Стробоскопический эффект
В компактных ЛЛ используется электронный пускорегулирующий блок, что практически исключает мерцание. Если быть точным, оно присутствует, но происходит на высокой частоте, от 20 кГц и более, глаз человека не воспринимает такую пульсацию. В результате, создается эффект монотонного светового потока. Следует обратить внимание, что при температуре ниже -10 °С у осветительного прибора с ЛЛ могут возникнуть проблемы с запуском, что в некоторых случаях может проявляться в виде стробоскопического эффекта.![]()
Устойчивость к низким температурам и влаге
Типовые ЛЛ беспроблемно работают при температуре окружающего воздуха более -10° С. При снижении нижнего предела начинаются проблемы с запуском, лампа может долго мерцать перед тем, как разгореться или вообще не включиться. Заметим, что выпускаются источники с более низким температурным порогом (-20° С). Ниже этого порога ЛЛ не работают, в отличие от источников с нитью накала. Это, пожалуй, является единственным преимуществом этих устройств.
Что касается влаги, то ее «боится» любой электрический прибор, и ЛЛ в данном случае не является исключением. Самое слабое звено – цоколь, для него нет эффективной защиты. Но это можно сказать о любом источнике освещения.
Инерционность
Иногда можно услышать мнение, что ЛЛ присуща некая инерционность при старте, то есть источник разгорается в течение нескольких секунд. Такая особенность присуща устройствам, с реализованным процессом теплого старта, что позволяет увеличить ресурс на 20-25%.
В большинстве недорогой продукции китайских изготовителей, такая функция не реализована. В результате ЛЛ включается практически мгновенно (холодный старт). Это сомнительное удовольствие отрицательно отражается на сроке службы. То есть, в данном случае инерционность является положительным качеством.
Нельзя управлять уровнем освещения
Это действительно, но отчасти. Управлять энергосберегающим прибором для изменения уровня освещения при помощи обычного диммера действительно невозможно. Изменение уровня напряжения может только вывести источник света из строя. Чтобы реализовать такую возможность необходимо специальное оборудование, но помимо этого в электронном балласте источника должна быть предусмотрена такая возможность. То есть, необходимы ЛЛ, в пускорегулирующих блоках которых имеются дополнительные выводы (управляющие электроды).
Заметим, что подобное решение стоит значительно дороже, чем для ЛН. Лампа с управляющими электродами стоит порядка $10 – $16, а контроллер от $35 и выше.
Необходимость утилизации
Поскольку ЛЛ содержит ртуть, выбрасывать лампу, отработавшую ресурс недопустимо, ее необходимо сдавать в специальные пункты утилизации, что доставляет некоторые неудобства.
О гарантии
Некоторые производители действительно дают гарантию на свою продукцию, но не спешите радоваться, она довольно условна, и во многом зависит от политики непосредственного продавца. Он всегда может потребовать провести экспертизу, или наличие справки от электрокомпании, что в процессе эксплуатационного периода не происходило бросков напряжения. Но в большинстве случаев, такая гарантия действительно осуществляется, при наличии чека и оригинальной упаковки.
Что делать, если лампочка разбилась?
Несмотря на то, что в ЛЛ сравнительно небольшое количество ртути, как правило, не более 6 мг, этого вполне достаточно, чтобы содержания паров этого превысило допустимую норму в 200-250 раз, что само по себе уже представляет опасность.
В таких ситуациях требуется незамедлительно провести демеркуризацию помещения, сделать это можно самостоятельно. Специалисты рекомендуют действовать по следующему алгоритму:
- Вывести людей из помещения, после чего открыть все окна.
- Одеть на лицо марлевую повязку (за неимением таковой можно воспользоваться носовым платком), а на руки резиновые перчатки.
- Аккуратно подобрать осколки ЛЛ и люминофор, после чего поместить их в любую герметично закрываемую не металлическую емкость (в крайнем случае, можно воспользоваться плотным полиэтиленовым пакетом). Остатки люминофора нельзя собирать пылесосом, по следующим причинам:
- тепло от устройства ускорит процесс парообразования ртути;
- пылесосом нельзя будет в дальнейшем безопасно пользоваться, его необходимо будет утилизировать.
- Убрав остатки ЛЛ необходимо произвести в помещении влажную уборку, добавив в воду любое из веществ, способствующих демеркуризации, к таковым относится хлорка, пищевая сода, перманганат калия (марганцовка), а также раствор йода.
- По завершении влажной уборки необходимо оставить проветриваться помещение как можно дольше.
Влажную уборку и проветривание помещения рекомендуется повторять несколько дней. Остатки ЛЛ подлежат утилизации, выбрасывать их вместе с обычным мусором категорически запрещается.
Как выбрать энергосберегающие лампочки?
- При выборе в первую очередь необходимо определиться с типом, предпочтительнее, безусловно, светодиодные источники, но они стоят в несколько раз дороже люминесцентных.
- Далее необходимо, убедиться, что цоколь лампы подходит к осветительному прибору. Здесь ошибиться довольно проблематично, есть всего два варианта, стандартный цоколь (Е27) и миньон (Е14). Если произошла ошибка и были куплены миньоны, то вставить такие лампы в стандартный патрон можно при помощи специального переходника. Встречаются и обратные переходники, но в таком варианте может возникнуть проблема ввиду недостаточного места в плафоне.
- Далее необходимо определиться с температурой белого света, предпочтительность для того или иного помещения указывалась в разделе о типах энергосберегающих источников.

- Определившись с температурой, выбираем необходимую мощность. Здесь сложно дать рекомендацию, все зависит от площади помещения и особенностей его интерьера. Сравнительная мощность для ЛН, большинством производителей указывается на коробке, но не следует ей особо доверять. Как показывает практика, можно смело снижать этот показатель на 10-20%.
- Что касается производителя, то здесь как обычно. Брендовая продукция, если она не является контрафактом, более надежна и служит дольше, чем лампы изготовленные китайцами в третью смену.
Вместо итогов.
Не спешите выбрасывать вышедший из строя энергосберегающий источник освещения, в большинстве случаев его можно вернуть к жизни. Описание этого процесса опубликовано на нашем сайте.
Энергосберегающие лампы и лампы накаливания: за и против. Справка
Нашу жизнь невозможно представить без искусственного освещения. Для жизни и работы людям просто необходимо освещение с применением ламп.
Раньше для этого использовались только обычные лампочки накаливания.
Принцип действия ламп накаливания основан на преобразовании электрической энергии, проходящей через нить, в световую. В лампах накаливания вольфрамовая нить под действием электрического тока раскаляется до яркого свечения. Температура разогретой нити достигает 2600-3000 градусов С. Колбы ламп накаливания вакуумируются или заполняются инертным газом, в среде которого вольфрамовая нить накала не окисляется: азотом; аргоном; криптоном; смесью азота, аргона, ксенона. Лампы накаливания сильно греются в процессе эксплуатации.
С каждым годом все больше увеличиваются потребности человечества в электроэнергии. В результате анализа перспектив развития технологий освещения, наиболее прогрессивным направлением эксперты признали замену устаревших ламп накаливания энергосберегающими лампами. Причиной этого специалисты считают значительное превосходство последнего поколения энергосберегающих ламп над «жаркими» лампами.
Энергосберегающими лампами принято называть люминесцентные лампы, которые входят в обширную категорию газоразрядных источников света.
Газоразрядные лампы в отличие от ламп накаливания излучают свет благодаря электрическому разряду, проходящему через газ, заполняющий пространство лампы: ультрафиолетовое свечение газового разряда преобразуется в видимый нам свет.
Энергосберегающие лампы состоят из колбы, наполненной парами ртути и аргоном, и пускорегулирующего устройства (стартера). На внутреннюю поверхность колбы нанесено специальное вещество, называемое люминофор. Под действием высокого напряжения в лампе происходит движение электронов. Столкновение электронов с атомами ртути образует невидимое ультрафиолетовое излучение, которое, проходя через люминофор, преобразуется в видимый свет.
Преимущества энергосберегающих ламп
Главным преимуществом энергосберегающих ламп считается их высокая световая отдача, превышающая тот же показатель ламп накаливания в несколько раз. Энергосберегающая составляющая как раз и заключается в том, что максимум электроэнергии, запитанной на энергосберегающую лампу, превращается в свет, тогда как в лампах накаливания до 90% электроэнергии уходит просто на разогрев вольфрамовой проволоки.
Другим несомненным преимуществом энергосберегающих ламп является их срок службы, который определяется промежутком времени от 6 до 15 тысяч часов непрерывного горения. Эта цифра превышает срок службы обычных ламп накаливания приблизительно в 20 раз. Наиболее частая причина выхода из строя лампы накаливания – перегорание нити накала. Механизм работы энергосберегающей лампы позволяет избежать этой проблемы, благодаря чему они имеют более длительный срок службы.
Третьим достоинством энергосберегающих ламп можно назвать возможность выбора цвета свечения. Он может быть трех видов: дневным, естественным и теплым. Чем ниже цветовая температура, тем ближе цвет к красному, чем выше – тем ближе к синему.
Еще одним преимуществом энергосберегающих ламп является незначительное тепловыделение, которое позволяет использовать компактные люминесцентные лампы большой мощности в хрупких бра, светильниках и люстрах. Использовать в них лампы накаливания с высокой температурой нагрева нельзя, так как может оплавиться пластмассовая часть патрона, либо провод.
Следующее преимущество энергосберегающих ламп в том, что их свет распределяется мягче, равномернее, чем у ламп накаливания. Это объясняется тем, что в лампе накаливания свет идет только от вольфрамовой спирали, а энергосберегающая лампа светится по всей своей площади. Из-за более равномерного распределения света энергосберегающие лампы снижают утомляемость человеческого глаза.
Недостатки энергосберегающих ламп
Энергосберегающие лампы имеют также и недостатки: фаза разогрева у них длится до 2 минут, то есть, им понадобится некоторое время, чтобы развить свою максимальную яркость. Также у энергосберегающих ламп встречается мерцание.
Другим недостатком энергосберегающих ламп является то, что человек может находиться от них на расстоянии не ближе, чем 30 сантиметров. Из-за большого уровня ультрафиолетового излучения энергосберегающих ламп при близком расположении к ним может быть нанесен вред людям с чрезмерной чувствительностью кожи и тем, кто подвержен дерматологическим заболеваниям.
Однако если человек находится на расстоянии не ближе, чем 30 сантиметров от ламп, вред ему не наносится.
Также не рекомендуется использовать в жилых помещениях энергосберегающие лампы мощностью более 22 ватт, т.к. это тоже может негативно отразиться на людях, чья кожа очень чувствительна.
Еще одним недостатком является то, что энергосберегающие лампы неприспособлены к функционированию в низком диапазоне температур (-15-20ºC), а при повышенной температуре снижается интенсивность их светового излучения.
Срок службы энергосберегающих ламп ощутимо зависит от режима эксплуатации, в частности, они «не любят» частого включения и выключения. Конструкция энергосберегающих ламп не позволяет использовать их в светильниках, где есть регуляторы уровня освещенности. При снижении напряжения в сети более чем на 10% энергосберегающие лампы просто не зажигаются.
К недостаткам можно также отнести содержание ртути и фосфора, которые, хоть и в очень малых количествах, присутствуют внутри энергосберегающих ламп.
Это не имеет никакого значения при работе лампы, но может оказаться опасным, если ее разбить. По той же причине энергосберегающие лампы можно отнести к экологически вредным, и поэтому они требуют специальной утилизации (их нельзя выбрасывать в мусоропровод и уличные мусорные контейнеры).
Еще одним недостатком энергосберегающих ламп по сравнению с традиционными лампами накаливания является их высокая цена.
Материал подготовлен на основе информации открытых источников
Чем отличаются светодиодные лампы от энергосберегающих?
- В городе N
- Статьи
Фото: thephilippena/pixabay.com
Многие из нас еще помнят те времена, когда выбор ламп в магазинах ограничивался 40-, 60- и 100-ватными лампами накаливания, и мы даже не задумывались о том, чем отличаются светодиодные лампы от энергосберегающих. Тогда самые яркие мы покупали для гостиной, а в прихожую и санузел обходились источниками света минимальной мощности.
Но времена изменились, и теперь ассортимент уважающего себя магазина включает десятки разновидностей ламп. Например, приходя в «Электру», вы будете выбирать для своих люстр и светильников энергосберегающие и светодиодные лампы как более экономичные и надежные по сравнению с безнадежно устаревшими лампами накаливания. Так каким же из них все-таки стоит отдать предпочтение? Попробуем разобраться.
- Сравнение энергосберегающих ламп и светодиодных
- Как выбрать светодиодные и энергосберегающие лампы?
Сравнение энергосберегающих ламп и светодиодных
Фото: Fotorech/pixabay.com
Чтобы провести грамотное сравнение энергосберегающих ламп и светодиодных, начнем с основных характеристик источников света. Раз уж в начале статьи мы вспомнили о 20- и 100-ватных лампах накаливания, выясним, как подобрать их более современные аналоги. Итак, лампе накаливания 20-Вт будет соответствовать энергосберегающая 5–7 Вт и светодиодная 2–3 Вт, а 100-ватной — энергосберегающая 25–30 Вт и светодиодная 12–15 Вт.
В первом случае световой поток будет составлять около 200 Лм, во втором — 1200 Лм.
Теперь перейдем непосредственно к сравнению энергосберегающих ламп и светодиодных, если вы твердо решили отказаться от морально устаревших ламп накаливания.
- Срок службы. Большинство производителей обещают, что энергосберегающая лампа прослужит 10 тысяч часов, а светодиодная 30–60 тысяч часов. При этом нужно учитывать, что и те, и другие источники света со временем теряют свою яркость.
- Гарантийный срок. У энергосберегающих в среднем он составляет 1 год, у светодиодных — 3 года. Специалисты считают, что именно эту характеристику, а не срок службы следует принимать в расчет при покупке.
- Форма и размер. Скрученная в спираль энергосберегающая лампочка, без сомнения, знакома всем. К сожалению, даже в самых компактных своих размерах она может не поместиться в плафон, либо будет «выглядывать» из него. А вот светодиодные — настоящая находка даже для встроенных светильников.
Они могут быть настолько миниатюрными, что подойдут для любого светильника или мебели, например, шкафа-купе. - Удобство эксплуатации. Энергосберегающие лампы в отличие от светодиодных зажигаются с небольшой задержкой от момента подачи напряжения. Также они не обладают опцией регулирования интенсивности освещения, в отличие от светодиодных ламп, которые могут быть диммируемыми. Диммер — это специальное устройство, обеспечивающее плавное изменение уровня свечения.
- Безопасность. Энергосберегающие лампы делают из стекла, поэтому любое повреждение трубки оказывается для них фатальным. Не будем говорить о продукции сомнительного качества, которая разбившись начинает выделять пары ртути. Колбы светодиодных ламп могут быть изготовлены не только из стекла, но и из пластика, что делает их практически «неубиваемыми».
После того, как мы провели сравнение энергосберегающих ламп и светодиодных, перейдем к следующему вопросу, а именно — к выбору источников света.
Как выбрать светодиодные и энергосберегающие лампы?
Фото: Википедия
Разобравшись в принципиальных различиях современных источников света, важно понять, как выбрать лампу интересующего вас типа для дома или квартиры. Сориентироваться в этом вопросе нам помогли эксперты магазина «Электра» в торговом центре «Март».
Что нужно знать при покупке энергосберегающих ламп:
- Обладает более высокой светоотдачей по сравнению с лампами накаливания;
- Можно выбирать из разных оттенков света: кому-то по душе холодный белый, кому-то — более теплый;
- Их стоимость заметно выше по сравнению с «лампочкой Ильича», зато они помогают экономить электроэнегию;
- Их поверхность нагревается довольно слабо;
- Как и в случае с лампой накаливания при покупке важно правильно выбрать тип цоколя. В квартирах чаще всего используется е27 или е14, иногда е40.
Светодиодные лампы многие склонны называть «вершиной эволюции» среди источников освещения.
Стоят они недешево, а значит, важно разобраться: оправданы ли эти вложения, или можно по-старинке использовать для своего жилья лампы накаливания.
Особенности светодиодных ламп:
- Лампы различаются в зависимости от формы, типа колбы (она может быть прозрачной и матовой), цвета свечения, угла рассеивания и, конечно, мощности.
- Диммирование — полезная функция, позволяющая самостоятельно управлять яркостью освещения. На сегодняшний день далеко не все лампы поддерживают такую возможность.
- Пульсации. Проверьте товар на работоспособность. Рекомендуется посмотреть на включенную лампу через камеру мобильного телефона. Если на экране вашего гаджета будут отчетливо видны полосы, значит, источник света пульсирует. Такие лампочки больше подходят для гаражей и подсобок, нежели для жилых помещений.
- При прочих равных, сомневаясь в выборе между двумя лампами, отдайте предпочтение более тяжелому экземпляру. Данная характеристика будет указывать на массивный радиатор охлаждения, что позволит лампе работать дольше.

- Переход с ламп накаливания на энергосберегающие и светодиодные — это гарантированная экономия электроэнергии, долгий срок службы и ваш личный вклад в осознанное потребление энергоресурсов, о чем сегодня заботится все мировое сообщество.
Адрес Нижний Новгород, ул. Гайдара, 24
Режим работы Торговая галерея с 09:00 до 21:00
Для справок (831) 282-47-72
Веб-сайт
http://marttc.ruЛюбое использование материалов допускается только при наличии активной ссылки на vgoroden.ru
на правах рекламы
Добавить В городе N вМужчина в костюме лешего грабит дома в элитных поселках Нижнего Новгорода КамАЗ провалился в яму в центре Нижнего Новгорода Никитин обратился к нижегородцам по поводу частичной мобилизации
Статья
«Живём одним днём»: эвакуированная семья из Мариуполя рассказала о жизни в Нижегородской области
Екатерина и Иван вместе с тремя детьми поселились в Семенове.
Статья
Дмитрий Галов: «В борьбе с DDos-атакой нужны превентивные меры»
Эксперт по кибербезопасности «Лаборатории Касперского» рассказал ИА «В городе N», как обеспечить защиту себе и своим данным в интернете.
Исследование энергосберегающих технологий | Статья в сборнике международной научной конференции
Авторы: Соломатин Алексей Сергеевич, Мирзоян Александр Германович, Суруджян Аркадий Самвелович
Рубрика: 5. Энергетика
Опубликовано в
III международная научная конференция «Технические науки: теория и практика» (Чита, апрель 2016)
Дата публикации: 15.
03.2016
Статья просмотрена: 120 раз
Скачать электронную версию
Библиографическое описание:Соломатин, А. С. Исследование энергосберегающих технологий / А. С. Соломатин, А. Г. Мирзоян, А. С. Суруджян. — Текст : непосредственный // Технические науки: теория и практика : материалы III Междунар. науч. конф. (г. Чита, апрель 2016 г.). — Чита : Издательство Молодой ученый, 2016. — С. 88-92. — URL: https://moluch.ru/conf/tech/archive/165/10032/ (дата обращения: 01.10.2022).
Энергетика — одна из самых важных отраслей жизнедеятельности человека. В связи с важностью данной сферы, проблемы и задачи, возникающие в энергетической нише, должны решаться немедленно. Современный мир невозможно представить без электроэнергии, поэтому каждое государство старается вывести энергетическую отрасль на высший уровень.
Можно утверждать, что развитость энергетики — показатель общего развития государства. Перед энергетиками всего мира стоит очень много проблем, требующих немедленного решения. Среди них: рационализация использования исчерпаемых природных ресурсов, снижение вреда, наносимого окружающей среде, от процесса выработки электроэнергии, исследование альтернативных источников энергии и создание электростанций нового типа, создание новейших технологий, позволяющих экономить электроэнергию. В данной статье будет рассмотрена проблема создания технологий, позволяющих экономить электроэнергию, и пути ее решения.
Энергосбережение сегодня — одно из приоритетных направлений развития энергетики, так как эта проблема тесно связана с государственной политикой, экономикой и положением страны на мировом энергетическом рынке. Экономия электроэнергии — один из факторов роста экономической эффективности государства.
В настоящее время на смену обыкновенным лампам накаливания приходят новые светодиодные светильники.
Светодиод — электротехнический прибор на основе полупроводникового материала, излучающий фотоны света при пропускании через него электрического тока. К преимуществам светодиодной техники стоит отнести:
- Малая себестоимость;
- Высокая энергоэффективность;
- Долгий срок службы — до 50000 часов;
- Энергобезопасность, обеспечиваемая за счет малого напряжения питания;
- Высокая скорость переключения режимов работы.
Но как и любой электротехнический прибор, светодиодный светильник не может не иметь недостатков. К ним относятся:
- Нагревание при использовании светодиодной техники мощностью более 1 Вт;
- Плохая взаимозаменяемость светодиодной техники.
Несмотря на приведенные отрицательные качества, светодиодные светильники активно внедряются в систему современного энергосбережения и производственную сферу. На рисунке 1 приведен пример светодиодного светильника.
Рис. 1 Светодиодный светильник
Рассмотрим принцип работы такого устройства. При подаче напряжения на светодиодный элемент, электрический ток, проходя от анода(+) к катоду(-), проходит через полупроводниковый кристалл и вызывает рекомбинацию электронов, то есть их переход с одного энергетического уровня на другой, что, собственно, и вызывает свечение, представляющее собой излучение фотонов света. На рисунке 2 приведен принцип действия светодиодных светильников.
Рис. 2. Принцип работы светодиодного светильника.
Теперь рассмотрим электротехническую схему светодиодного светильника и поясним о назначении каждого элемента. На рисунке 3 приведена электротехническая схема светодиодного светильника.
Рис. 3. Электротехническая схема светодиодного светильника
На входе такой схемы обязательно устанавливают резистор большого сопротивления и емкость. Они выполняют роль понижающей питающей установки. Дело в том, что для питания светодиода требуется очень маленький ток, в связи с этим устанавливают резистор большого сопротивления для падения напряжения до нужного уровня.
Емкость устанавливают для сглаживания пульсаций, установки номинальной частоты питающего тока. Если эта емкость будет подобрана неверно, возможна неправильная работа установки, то есть мерцание или перебои в работе. Далее в схеме устанавливают светодиодный мост, выполняющий роль выпрямителя, так как светодиодные элементы восприимчивы только к постоянному току. После всех дополнительных конструкций устанавливаются уже сами светодиоды, непосредственно. Так как 1 светодиод дает недостаточное свечение, устанавливают группу диодов, соединенную параллельно или последовательно. Преимуществом последовательного соединения является простота конструкции, но есть существенный недостаток — при выходе из строя 1 элемента, вся установка не может работать, так как пропускание тока через испорченный элемент невозможно. В плане надежности гораздо выгоднее использовать параллельное соединение, но это дорогостоящее изделие, в связи с тем, что к каждому светодиоду нужно устанавливать ограничивающий резистор, который будет ограничивать пропускаемый ток и предохранять диод от сгорания.
В связи со сложностью и дороговизной конструкции параллельное соединение светодиодных элементов применяется редко. На рисунке 4 приведен параллельный способ соединения светодиодов.
Рис. 4. Параллельное соединение светодиодов
Самым распространенным способом соединения считается смешанное соединение. Оно представляет собой несколько параллельных групп диодов, соединенных между собой внутри групп последовательно. Преимуществом такого способа соединения является то, что при выходе из строя 1 светодиода, выйдет из строя только 1 группа последовательно соединенных диодов, а остальные группы, соединенные с этой группой параллельно, останутся в рабочем состоянии. На рисунке 5 приведен смешанный тип соединения светодиодов.
Рис. 5. Смешанное соединение светодиодов
В подтверждение вышесказанного приведем сводную таблицу 1, в которой покажем преимущество светодиодных ламп по сравнению с люминесцентными и лампами накаливания.
Таблица 1
В таблице 2 проведено сравнение по нескольким параметров всех осветительных приборов, включая лампы накаливания, светодиодные и люминесцентные лампы.
Таблица 2
Итак, подводя итог, стоит отметить, что использование светодиодных ламп очень выгодно и широко распространено в наши дни. Единственное, что откладывает полную замену ламп накаливания и люминесцентных ламп на светодиодные — дороговизна светодиодных установок и недостаточное изучение влияния на человеческий организм. Но, с современными темпами развития технологий, можно быть уверенным, что будущее энергосберегающей техники стоит именно за приборами, собранными на основе светодиодов.
Литература:
- Энергосберегающие лампы. Диагностика, ремонт, модернизация. Тищенко И. В. 2012г.
- Институциональные проблемы повышения энергоэффективности жилищного и бюджетного секторов. Сиваев С. Б., Гордеев Д. П., Лыкова Т. Б. 2010г.
Основные термины (генерируются автоматически): светодиодный светильник, светодиодная техника, электротехническая схема, лампа накаливания, параллельное соединение, принцип работы, рисунок, светодиод, электрический ток, электротехнический прибор.![]()
Похожие статьи
Обзор
светодиодных фар | Статья в журнале «Молодой ученый»Светодиоды, или светоизлучающие диоды (СИД, в английском варианте LED — light emitting diode) — полупроводниковый прибор, излучающий некогерентный свет при пропускании через него электрического тока (рисунок 1). Работа основана на физическом явлении…
Светодиодные подъездные ЖКХ-светильники с фото…светильник, светодиоды, датчик движения, датчик шума, лампа, энергосбережение
Рекомендуется размещать светильники с лампами накаливания параллельными рядами, принимают: , для ламп.
Основные принципы освещения в интерьере | Статья в журнале.
..
В целом светодиод, долговечный прибор срок службы светодиодов составляет в
Например, удаленный от поста электрической централизации светодиодный светофор с
Основные термины (генерируются автоматически): светофор, лампа накаливания, светодиод, головка…
Теоретическое описание
устройства дистанционного управления…В статье представлена принципиальная электрическая схема устройства, структурная схема и
Допускается параллельное соединение диодов, если обеспечивается
При работе диодов на емкостную нагрузку действующее значение тока через диод не должно превышать .
Использование
светодиодных ламп в конструкции автомобиляВсе большую популярность приобретают автомобильные светодиодные лампы или светодиоды для авто.
Лампы КЛЛ имеют срок службы в 5–15 раз больше, чем лампы накаливания. Обзор светодиодных фар | Статья в журнале «Молодой ученый».
К вопросу контролирования
тока при работе многокатушечного…Транзистор оптрона является ключом, коммутирующим нагрузку, которой служат параллельно подключенные светодиод VD1 и генератор звуковой частоты ГЗЧ (рисунок 4). Работа схемы аналогична предыдущему варианту. Когда ток в катушке достигнет значения Iср, падение..
.
Интегрированный урок как средство формирования…
Инструкция к работе: Определить размещение приборов на столе. Собрать электрическую схему.
Полученные опытным путем ВАХ и для последовательного и параллельного соединений нанести в этом же масштабе на график.
Модель системы освещения на основе микроконтроллера.
Светодиодная лента — универсальный источник света, гибкая печатная плата с прикрепленными светодиодами и
Рис. 5. Схема подключения устройств модели. Рис. 6. Принципиальная электрическая схема систем. Программный код работы Arduino
Экономия электроэнергии электропоездов | Статья в журнале…
Светодиодные лампы состоят из: Рассеивателя.
Собственно светодиодов. Платы, на которую они (светодиоды) крепятся.
При любой конструкции и схеме электроподвижного состава должна быть предусмотрена его работа в рекуперативном режиме работы.
- Как издать спецвыпуск?
- Правила оформления статей
- Оплата и скидки
Похожие статьи
Обзор
светодиодных фар | Статья в журнале «Молодой ученый»Светодиоды, или светоизлучающие диоды (СИД, в английском варианте LED — light emitting diode) — полупроводниковый прибор, излучающий некогерентный свет при пропускании через него электрического тока (рисунок 1). Работа основана на физическом явлении…
Светодиодные подъездные ЖКХ-светильники с фото.
..светильник, светодиоды, датчик движения, датчик шума, лампа, энергосбережение
Рекомендуется размещать светильники с лампами накаливания параллельными рядами, принимают: , для ламп.
Основные принципы освещения в интерьере | Статья в журнале…
Светодиодные светофоры для Российских железных дорогВ целом светодиод, долговечный прибор срок службы светодиодов составляет в
Например, удаленный от поста электрической централизации светодиодный светофор с
Основные термины (генерируются автоматически): светофор, лампа накаливания, светодиод, головка…
Теоретическое описание
устройства дистанционного управления.
..В статье представлена принципиальная электрическая схема устройства, структурная схема и
Допускается параллельное соединение диодов, если обеспечивается
При работе диодов на емкостную нагрузку действующее значение тока через диод не должно превышать .
Использование
светодиодных ламп в конструкции автомобиляВсе большую популярность приобретают автомобильные светодиодные лампы или светодиоды для авто.
Лампы КЛЛ имеют срок службы в 5–15 раз больше, чем лампы накаливания. Обзор светодиодных фар | Статья в журнале «Молодой ученый».
К вопросу контролирования
тока при работе многокатушечного.
..Транзистор оптрона является ключом, коммутирующим нагрузку, которой служат параллельно подключенные светодиод VD1 и генератор звуковой частоты ГЗЧ (рисунок 4). Работа схемы аналогична предыдущему варианту. Когда ток в катушке достигнет значения Iср, падение…
Интегрированный урок как средство формирования…
Инструкция к работе: Определить размещение приборов на столе. Собрать электрическую схему.
Полученные опытным путем ВАХ и для последовательного и параллельного соединений нанести в этом же масштабе на график.
Модель системы освещения на основе микроконтроллера.
Светодиодная лента — универсальный источник света, гибкая печатная плата с прикрепленными светодиодами и
Рис.
5. Схема подключения устройств модели. Рис. 6. Принципиальная электрическая схема систем. Программный код работы Arduino
Экономия электроэнергии электропоездов | Статья в журнале…
Светодиодные лампы состоят из: Рассеивателя. Собственно светодиодов. Платы, на которую они (светодиоды) крепятся.
При любой конструкции и схеме электроподвижного состава должна быть предусмотрена его работа в рекуперативном режиме работы.
Энергоэкономичное освещение
2192 Энергоэкономичное освещение
СОДЕРЖАНИЕ
1 Понятие энергоэкономичного освещения
2.
Европейские тенденции в энергоэкономичном освещении
Список использованных источников
1 Понятие энергоэкономичного освещения
Энергосбережение является ключевой энергетической проблемой современности для всего мира. В Республике Беларусь проблема эффективного энергоиспользования имеет особое звучание, что объясняется рядом объективных и субъективных факторов:
− обеспеченность собственными энергоресурсами на 10%;
− развитая промышленность, структура которой, что сложилось исторически в период энергетического изобилия, не учитывает дефицит энергоресурсов в стране;
− устаревшее, нерациональное энергообеспечение существующих технологий;
− изжившие себя, в принципе, технологии;
− дисгармония в структуре и подготовке специалистов, определяющих характер энергопотребления и пр.
Одним из видов энергосбережения на сегодняшний момент является применение энергоэкономичного освещения.
Дадим характеристику имеющимся источникам света.
Все источники света делятся на:
тепловые (планковские)
и люминесцентные.
В первом случае за счет сильного нагрева тело начинает излучать полный спектр излучения, включающий и видимую часть, а во втором — излучением света сопровождается высвобождение внутренней энергии электронов вещества.
Лампы накаливания
Стандартную конструкцию предпочтительно использовать там, где она целесообразна из-за короткого времени ее работы при включении, т.е. например, во вспомогательных помещениях, спальных комнатах, на лестничных клетках, в туалетах. Эти лампы относительно дешевые, но имеют плохую световую отдачу: (10-15 лм/Вт: только около 5% от используемой энергии преобразуется в свет) и небольшой средний срок службы: около 1.000 рабочих часов.
Энергосберегающие лампы (компактные люминесцентные лампы)
Можно использовать везде, где необходимо более длительное время их работы при включении, например, в гостиной, детских комнатах, кухне, в ванной комнате. По сравнению с лампами накаливания они имеют в 5-6 раз большую светоотдачу и в 10 раз больший срок службы.
Очень частое включение сокращает их срок службы. Использованные энергосберегающие лампы нельзя выбрасывать в контейнеры с бытовыми отходами, они должны утилизироваться отдельно.
Люминесцентные лампы
Предусмотрены в первую очередь для рабочих зон с длительным временем их работы при включении, например, в помещениях для хобби, в прачечных, а также могут использоваться для кухни и ванной комнаты. Их светоотдача приблизительно в 8 раз больше, чем у стандартных ламп накаливания и они служат в 10 дольше, чем те же стандартные лампы накаливания.
Частое включение и выключение сокращает срок службы люминесцентных ламп.
Обратите внимание также на то, что и люминесцентные лампы требуют отдельной утилизации.
Галогеновые лампы накаливания
Очень хороши для акцентированного освещения, имеют приблизительно на 25% лучшую светоотдачу и двойной срок службы по сравнению со стандартными лампами накаливания. Они предусмотрены для направленного освещения.
Правильное применение любых типов ламп очень важный фактор для расхода энергии.
Особенности работы энергосберегающей лампы следующие:
1. Используется при температуре от -10 до +50° C.
2. Диапазон рабочего напряжения 180-240 V.
3. Вкручивать и выкручивать, придерживая за пластиковый корпус.
4. Для продления срока службы лампы задержка включения составляет 1-2 секунды.
5. Не использовать с диммером.
6. После выключения возможно остаточное свечение.
Люминесцентные энергосберегающие лампы — качественно новый источник света. Люминесцентная лампа наполнена парами инертного газа (аргоном), а ее внутренние стенки покрыты люминофором. Под действием высокого напряжения в лампе происходит движение электронов. Столкновение электронов с атомами образует невидимое ультрафиолетовое излучение, которое, проходя через люминофор, преобразуется в видимый свет.
Помимо пониженного потребления электроэнергии, энергосберегающие лампы выделяют меньше тепла, чем лампы накаливания. Незначительное тепловыделение позволяет использовать компактные люминесцентные лампы большой мощности в хрупких бра, светильниках и люстрах, в которых от ламп накаливания с высокой температурой нагрева может оплавляться пластмассовая часть патрона, либо сам провод.
Так, например, в светильнике, корпус которого сделан из материла, лучше использовать энергосберегающую лампу, так как высокий нагрев лампы накаливания со временем приведет к выгоранию материала.
Очень длительный срок службы энергосберегающих ламп, в несколько раз превышающий срок службы ламп накаливания, позволяет использовать энергосберегающие лампы в труднодоступных местах, где замена источников света затруднена (например, если в помещении высокие потолки) — торговых залах, выставочных комплексах, складских помещениях. Несмотря на долгий срок использования, у энергосберегающих ламп «ЭТП» не портится внешний вид, так как они выполнены из высококачественного пластика, который не желтеет у основания колбы в зоне появления высокой температуры.
Энергосберегающие лампы не подлежат специальной утилизации и их можно просто выбрасывать в мусорный ящик, без нанесения вреда окружающей среде. Следовательно они также не наносят вред здоровью человека.
Энергосберегающая лампа состоит из 3 основных компонентов: цоколя, люминесцентной лампы и электронного блока.
Рисунок — Строение энергосберегающей лампы
Цоколь предназначен для подключения лампы к сети.
Электронный блок или электронный пускорегулирующий аппарат (ЭПРА) обеспечивает зажигание (пуск) и дальнейшее горение люминесцентной лампы. ЭПРА преобразует сетевое напряжение 220В в напряжение, необходимое для работы люминесцентной лампы. Благодаря ЭПРА энергосберегающая лампа зажигается без мерцания и работает без мигания свойственного обычным люминесцентным лампам.
Люминесцентная лампа наполнена парами ртути и инертным газом (аргоном), а ее внутренние стенки покрыты люминофорным покрытием. Под действием высокого напряжения в лампе происходит движение электронов. Столкновение электронов с атомами ртути образует невидимое ультрафиолетовое излучение, которое, проходя через люминофор, преобразуется в видимый свет.
Благодаря механизму действия энергосберегающих ламп удается добиться снижения потребления электроэнергии на 80% по сравнению с лампами накаливания при аналогичном световом потоке.
Помимо пониженного потребления световой энергии энергосберегающие лампы выделяют меньше тепла, чем лампы накаливания. Незначительное тепловыделение позволяет использовать компактные люминесцентные лампы большой мощности в хрупких бра, светильниках и люстрах, в которых от ламп накаливания с высокой температурой нагрева может оплавляться пластмассовая часть патрона, либо сам провод.
Наиболее частая причина выхода из строя лампы накаливания – перегорание нити накала. Механизм работы энергосберегающей лампы позволяет избежать этой проблемы, благодаря чему они имеют более длительный срок службы. Срок службы энергосберегающей лампы колеблется от 6000 до 12000 часов (как правило, длительность срока службы указывается производителем на упаковке товара) и превышает срок службы лампы накаливания в 6–15 раз. Благодаря этому облегчается использование энергосберегающих ламп в труднодоступных местах (например, если в помещении высокие потолки).
Еще одно преимущество энергосберегающих ламп объясняется тем, что площадь поверхности люминесцентной лампы больше, чем площадь поверхности спирали накаливания.
Благодаря этому свет распределяется мягче, равномернее, чем у лампы накаливания. Это легко продемонстрировать на следующем примере: если вы вставляете в люстру обыкновенную лампу накаливания, то по стенам комнаты будут видны резкие тени от плафонов, а при использовании компактной энергосберегающей лампы тени не такие резкие. Из-за более равномерного распределение света энергосберегающие лампы снижают утомляемость человеческого глаза.
Последняя характеристика, выгодно отличающая энергосберегающие лампы от традиционных, заключается в том, что энергосберегающие лампы могут иметь разную цветовую температуру, которая определяет цвет лампы. Энергосберегающие лампы могут иметь следующие цветовые температуры 2700 К – Мягкий белый свет, 4200 К – Дневной свет, 6400 К – Холодный белый свет (цветовая температура измеряется градусами по шкале Кельвина). Чем ниже цветовая температура, тем ближе цвет к красному, чем выше – тем ближе к синему. Таким образом, потребитель получает возможность обогатить цветовую гамму помещения.
Подводя итоги сравнения энергосберегающих ламп с традиционными лампами накаливания, можно отметить, что энергосберегающие лампы имеют следующие выгодные отличия:
Незначительное тепловыделение, что позволяет использовать компактные люминесцентные лампы большой мощности в хрупких бра, светильниках, люстрах;
Экономия электроэнергии до 80% при такой же световой отдаче;
Длительный срок службы, который превышает срок использования лампы накаливания в 6–15 раз;
Мягкое, более равномерное распределение света;
Возможность создавать свет различного спектрального состава: теплый, дневной, холодный.
Таким образом, принципиально новые свойства энергосберегающих ламп (экономия электроэнергии до 80% при такой же световой отдаче, что и у ламп накаливания, незначительное тепловыделение, длительный срок службы, мягкое, более равномерное распределение света, возможность создавать свет различного спектрального состава: теплый, дневной, холодный) — это качественно новое решение не только проблем освещенности, но экономики нашего быта и экологии нашей страны.
2. Европейские тенденции в энергоэкономичном освещении
Вследствие запрета Евросоюза на лампы накаливания (поэтапно до 2016 г.) европейские потребители переходят на зеленые продукты. В I квартале 2009 года во многих европейских странах продажи традиционных лампочек упали на 35 процентов. Рост покупок таких лампочек отмечается лишь как региональное явление, особенно в Германии и Австрии. В настоящее время зеленые продукты составляют 65 процентов продаж мирового бренда «Osram», в ближайшие же годы компания стремится довести это число до 80 процентов.
В международном плане компания находится в эпицентре технического прогресса, дальнейший импульс которому придает вышеупомянутое решение Евросоюза. С другой стороны, лампа накаливания уже много лет играла не самую значительную роль в бизнесе Osram. Поэтапно запрет Евросоюза вступит в силу к 2016 году. На первом же этапе будет осуществлено постепенное, начиная с 1 сентября 2009 года, прекращение использования луковицеобразных 100-ваттных ламп, а также ламп из матового стекла.
Сегодня это одни из наиболее крупных источников энергозатрат.
Osram осознает свою обязанность как изготовителя предоставлять потребителю необходимую информацию по решению Евросоюза и альтернативным продуктам. Такие альтернативы включают галогенные и энергосберегающие лампы различных форм, цветов и мощностей. Перейдя с 1 сентября на энергосберегающие продукты, потребитель сэкономит до 250 евро в течение жизни лампы и достигнет не менее существенного уровня защиты окружающей среды. Как ведущий изготовитель освещения, Osram имеет самую большую в мире номенклатуру изделий с акцентом на энергоэффективность и качество освещения.
Галогенные лампы почти идентичны лампам накаливания, на 30 процентов более эффективны и подходят к стандартным бытовым патронам. Еще более эффективны энергосберегающие лампы. Эти приборы позволяют экономить до 80 процентов энергии. Скептицизм по поводу данной технологии есть рудимент, оставшийся с первых лет существования энергосберегающей лампы. В конце концов, изобретению более 20 лет.
За это время компания Osram добилась существенных технологических успехов и сегодня в состоянии предложить потребителю такую альтернативу, как новый теплый комфортный свет, который почти не отличается от света традиционной лампочки.
Еще в большей степени усилится тенденция использования светодиодных источников света. Светодиоды открывают новые возможности освещения, в особенности благодаря их маленьким размерам, энергоэффективности и долговечности.
Последние исследования Osram и Siemens доказывают, что светодиоды столь же безвредны для окружающей среды, сколь и энергосберегающие лампы, и оказывают значительно меньше влияния на окружающую среду, чем традиционные лампочки. Согласно исследованиям, светодиодные лампы последнего поколения используют более 98 процентов всей энергии, затрачиваемой при их эксплуатации, а при их изготовлении расходуется менее 2 процентов энергии. Подобные результаты были достигнуты и с энергосберегающими лампами.
Срок службы восьмиваттных светодиодных ламп Osram последнего поколения достигает 25 тысяч часов.
Если бы вместо таких ламп по-прежнему использовались традиционные луковицеобразные лампы накаливания, то для замещения одной светодиодной лампы потребовался бы эквивалент в виде двадцати пяти ламп накаливания по 40 ватт и 1000 часов среднего срока службы каждая. Для изготовления и эксплуатации лампы накаливания, которую с сентября 2009 года намечено постепенно вывести из обихода, нужно примерно 3300 киловаттчасов первичной энергии. Сопоставимый же светодиодный источник света требует только 700 киловаттчасов.
Список использованных источников
Энергосберегающие лампы мощность таблица
Содержание
- Принцип работы
- Основные характеристики
- Мощность
- Таблица мощности энергосберегающих ламп
- Световой поток
- Тип цоколя
- Световая температура
- Световая отдача
- Уровень освещенности
- Индекс цветопередачи
- Срок работы
- Маркировка энергосберегающих ламп
- Схема работы энергосберегающей лампы
- Неисправности энергосберегающих ламп
- Ремонт энергосберегающих ламп
Принцип работы
Популярные в последнее время энергосберегающие лампы одно из лучших за последнее время изобретений.
Компактные в своих размерах не требующие стартера для запуска освещения, работающие без звука, простые в подключении (резьбовой цоколь элементарно устанавливается в осветительное оборудование), экономящие электроэнергию на 80 %, надежные, вот часть основных достоинств этих приборов.
Принцип работы энергосберегающей люминесцентной лампы заключается в ней содержание паров ртутного вещества, газов аргона, неона, иногда криптона. Когда электроэнергия поступает в лампу, нагревается катод, от которого начинает излучаться электроны. Они ионизируют газовую смесь до получения плазмы, излучающую ультрафиолетовый свет, невидимый для человеческого глаза. За счет этого света освещается люминофор, покрывающий стенки трубки и в результате, люминофор выдает привычный видимый свет.
Основные характеристики
Мощность
Важнейшей отличительной характеристикой энергосберегающих ламп от других – это небольшое потребление мощности. Вся мощность, которую они получают, преобразуется в свет.
Мощность таких лампочек 3 – 85 Вт.
Таблица мощности энергосберегающих ламп
Нижеприведенная таблица показывает соотношения энергосберегающей лампы и лампы накаливания: цифры – средний показатель указывает на то, что одинаковый свет подают лампы, с разной мощностью (разница приблизительно в 5 раз). Так, например лампочка накаливания в 100 Ватт работает так же как энергосберегающая в 20 Ватт
| Лампа накаливания | Энергосберегающая лампа |
| 25 | 5 |
| 40 | 9 |
| 60 | 11 |
| 75 | 15 |
| 100 | 20 |
| 120 | 23 |
Световой поток
Эффективность работы лампы кроме этого определяет еще одна важная характерная особенность энерголамп – световое движение, с единицей измерения лм (люмен). От него зависит, насколько ярко светит прибор. Глаза человека не воспринимают даже самого мощного ультрафиолетового или инфракрасного излучений.
Тип цоколя
Цоколь — важнейшая часть и особенность энергосберегающих ламп. При ее покупке следует рассмотреть цоколь, он должен соответствовать патрону.
На рынке представлены цоколи различных марок: штырьковые и резьбовые, с уплотненным контактом и нестандартные. Нижеприведенная таблица дает общие сведения о типах цоколей.
Световая температура
К качественным параметрам относится цветовая температура (измеряется с помощью шкалы температуры Кельвина (обозначается «К»)), которая определяет естественность (белизны) освещенности, исходящей от лампы.
Различают следующие цветовые температуры:
- тепло-белая (менее 3000 К),
- нейтрально-белая (от 3000 до 5000 К)
- дневная белую (более 5000 К).
Для жилых помещений лучше пользоваться лампами с теплыми оттенками. Они расслабляют и успокаивают. В офисных помещениях лучше подойдут холодные тона.
Натуральной и наиболее приятной для человека считается температура цвета от 2800 до 3500 К.
Световая отдача
В вопросе экономии энергии основным параметром производительности электричества считается световая отдача, измеряющаяся в лм/Вт. Через этот показатель устанавливается количество света вырабатываемого устройством.
Максимальный уровень световой отдачи равен 683 лм/Вт. Ранее отдача равнялась 10-15 лм/Вт, а сейчас – 100 лм/Вт.
Уровень освещенности
Показатель, который определяет освещенность определенной поверхности, называется уровнем освещенности (измеряется в лк (люкс)). Нормой освещенности рабочей поверхности в России 200 лк, В Европе равняется 800 лк.
Индекс цветопередачи
Индексом цветопередачи определяется цифра естественной передачи тона освещаемых предметов. Цветопередача лампочек зависит от спектрального излучения. Лампе с абсолютно правильной передачей цветового спектра предметов присваивается индекс Ra.
Уменьшение показателя Ra, указывает на ухудшение цветопередающих свойств.
Срок работы
К эксплуатационным характеристикам относится продолжительность работы лампы, быстрота включения и их количество (гарантированных), конструктивные параметры. Эти характерные особенности показывают затраты на использование, с помощью которых определяется выгода покупки лампы.
Маркировка энергосберегающих ламп
Перед покупкой энергосберегающей лампы стоит обратить внимание на маркировку, указанную на упаковке. Российские производители, следуя правовым стандартам, в качестве маркировки люминесцентных ламп используют букву, зарубежные производители пользуются числовыми значениями. Нижеприведенная таблица показывает маркировки отечественных и зарубежных ламп:
| Маркировка РФ | Маркировка зарубежная | Характеристика |
| Л | люминесцентная; | |
| Б | 835 | белой цветности; |
| 33 640/840/940 | Холодный белый | |
| ЛД | 54 864 960 | Холодный дневной (в синеву) |
| ТБ | 29,827830/930 | тепло-белая; желтоватый |
| Д | 765/865/965 950/954 | дневной цветности; |
| Ц | 880 SKYWHITE | с улучшенной цветопередачей; |
| Э | с улучшенной экологичностью; | |
| 76/79 | для мясных прилавков | |
| 89 | для аквариума | |
| 77 | для растений | |
| 08 | для проверки банкнот и интерьерной подсветки | |
| 15 | красный | |
| 16 | жёлтый | |
| 17 | зелёный | |
| 18 | синий |
Корме этого маркировка энергосберегающих ламп указывает на:
- силу мощности (20 Вт),
- температуру цвета (85w 6400k),
- тип цоколя (gu3),
- галогеновую лампу (mr 16),
- рефлекторную лампу (r 80).

Страны производители энергосберегающих ламп
| Страна производитель | Название фирмы выпускающие энергосберегающие лампы |
| Российская Федерация | Космос Фотон Feron |
| ФРГ | Osram Wolta |
| Дания | Comtech Лайнер |
| США | General Electric |
| Япония | Hitachi |
| КНР | Zeon |
| Нидерланды | Philips |
Схема работы энергосберегающей лампы
Основная часть энергосберегающих ламп это колба, внутри которой с обеих сторон впаяны спирали. Их покрывают слоем оксида, что бы создать термоэлектронную эмиссию (когда подается напряжение, начинается разогрев спиралей до нужной температуры, от чего происходит появление электронов). В колбе содержаться ртутные пары, которые вступают в столкновения с электронами, образовывая излучение ультрафиолетом. Оно приводит к яркому свечению люминофора и человек видит привычный для себя электрический свет.
Для большего срока работы ламп лучше пользоваться непостоянным напряжением. Двигающиеся в колбе электроны представляют собой катод и анод. При долгой работе лампы электроны будет перегреваться, за счет чего слой оксида быстро разрушится. После разрушения слоя оксида увеличится сопротивление электродов и снизится световой поток лампы. Когда электроды разрушены лампа перестает работать.
Неисправности энергосберегающих ламп
| № | Поломка энергосберегающей лампы | Решение проблемы поломки лампы |
| 1. | Повышение напряжения приводит к вздутию и протечке конденсатора, лампа прекратит работать. | Такое повреждение требует заменить все полупроводники. |
| 2. | Повышение напряжения пробивает конденсатор. Прибор начинает светиться в местах, где остались нити накала. | Данное повреждение исправляется заменой конденсатора.
|
| 3. | Неправильная эксплуатация приводит к неравномерному распределению светового потока. Колба частично герметизируется. | В этой ситуации лампа неисправна.
|
| 4. | При сгорании нити накала (достаточно одной), лампа не работает. Для начала необходимо проверить конденсатор. | На месте оборванного накала, диод заменяется резистором посредством выпаивания.
|
| 5. | Неисправность диодного тиристора приводит к поломке устройства. | Необходимо заменить неисправный элемент.
|
Ремонт энергосберегающих ламп
Приступать к ремонту энергосберегающих ламп можно выяснив причину неисправности и убедившись в наличии запасных деталей, которые будут устанавливаться на место поврежденных.
Далее, с помощью отвертки, разбирают корпус лампочки. Затем отсоединяют провода, идущие из колбы. Перерезают оба провода, питающие электрическое устройство. Цифровыми клещами проверяют спирали колбы. При сгорании хотя бы одной спирали накала, колба считается неисправной и лампа подлежит утилизации.
При работающих спиралях восстановить прибор можно. Приобретая детали взамен перегоревших, нужно выбирать модели той же маркировки что и неисправное устройство.
Cfl Bulb Drawing — Illustrationen und Vektorgrafiken
26Grafiken
- Bilder
- Fotos
- Grafiken
- Vektoren
- Videos
Niedrigster Preis
SignatureBeste Qualität
Durchstöbern Sie 26
cfl bulb drawing lizenzfreie Фондовая и векторная графика. Oder starten Sie eine neuesuche, um noch mehr faszinierende Stock-Bilder und Vektorarbeiten zu entdecken. векторная иллюстрация на складе с изображением, тема, рисунок от руки, стиль каракули. — cfl лампочка рисунок сток-графика, -клипарт, -мультфильмы и -символ Вектор-Сток-Иллюстрация с Einzelobjekt, Öko-Thema, von Hand.
..
Glühbirnensymbol, Symbol der Idee, flash Vektorillustration.
символ для энергосберегающего фонаря. флаш векториллюстрация. — рисунок лампочки cfl — графика, -клипарт, -мультфильмы и -символСимвол энергетического парендера Leuchtstofflampen. Flache…
glühbirne, energyparen, lampengläser. denk- und denklösung. абстрактный дизайн поли-драхтгиттер-сетки. фон verbindungspunkt und linie. vektor-illustration auf blauem hintergrund — cfl лампы для рисования стоковые графики, -клипарты, -мультфильмы и -символыGlühbirne, Energiesparen, Lampengläser. Denk- und Denklösung….
неоновый символ. линия искусства значок мит grüner ökologielampe в дер руку на хэллем хинтергрунд. инновациитехнологии. — рисунок лампочки cfl — графика, -клипарт, -мультфильмы и -символ Неоновый символ. Line Art Icon с зеленой экологической лампой в руке.
..
Line-Art-Ikone mit grüner Ökologie-Lampe in der Hand auf hellem…
energyparer — cfl лампа для рисования стоковая графика, -клипарт, — мультфильмы и символыEnergiesparer
Energiespar-Vektor-Illustration на прозрачном фоне. Symbole в премиум-качестве. Векторные флаги Farbsymbol für Konzept- und Grafikdesign.
umweltfreundlich eglühende led-lampe in flach — cfl лампочка чертеж сток-графика, -клипарт, -мультфильмы и -symbole .s.c12.150356321 glühbirnen-символ. geschäftsidee energieeffizientes zeichnen von kreativen zeichnen denken, elektrische lampen leuchten die effizienz. technologie-vektor-set — cfl лампа для рисования сток-графика, -клипарт, -мультфильмы и -символ1812.m30.i020.n015.S.c12.150356321 Glühbirnen-Символ. Geschäftsid
Symbole der Glühbirnenlinie.
Geschäftsidee energieeffizientes kreatives Zeichnen Denken Sie an elektrische Lampe Glow Energieeffizienz. Technologieideen Vektor-Set
Vergleiche LED-Beleuchtung und Kompaktleuchtstofflampen,… вектор — cfl лампа рисунок сток-графика, -клипарт, -мультфильмы и -символ
Kunstlicht Glühbirne von Transparenten Wasser Tropfen Vektor
120-градусный Winkel-symbol führte leichte vektor — cfl лампочка чертежный материал-графика, -clipart, -cartoons und -symbole120-градусный Winkel-Symbol führte leichte Vektor
запасной лампа-символ. монохромный стильный дизайн от крафта и энергии-иконки. пользовательский интерфейс пиктограмма идеальной пиктограммы энергиипаренде лампа-символ. веб-дизайн, приложения, программное обеспечение, печать. — рисунок лампочки cfl — графика, -клипарт, -мультфильмы и -символ Энергетическая запчасть-Лампа-Символ.
Монохромный стиль от Kraft и…
Symbol für Energiesparlampe. Monochromes Design aus Kraft- und Energiesammlung. БЕНУЦЕРОБЕРФЛЕЧЕ. Пиктограмма идеального изображения Пиктограмма Energiesparlampe Symbol. Веб-дизайн, приложения, программное обеспечение, Drucknutzung.
символ угла луча для светодиодного освещения — векторная иллюстрация. — cfl лампа для рисования сток-графика, -клипарт, -мультфильмы и -символУгол луча-Символ для светодиодного освещения — Вектор-иллюстрация.
180-градусный-винкель-символ — cfl лампа для рисования сток-графика, -клипарт, -мультфильмы и -символ180-Grad-Winkel-Symbol
Vektorillustration
glühbirne, energyparen, lampengläser. denk- und denklösung. абстрактный дизайн поли-драхтгиттер-сетки. фон verbindungspunkt und linie. vektor-illustration auf blauem hintergrund — cfl лампы для рисования стоковые графики, -клипарты, -мультфильмы и -символы Glühbirne, Energiesparen, Lampengläser.
Denk- und Denklösung….
Glühbirne, Energiesparen, Lampengläser. Denk- und Denklösung….
energyparer — cfl лампочка чертеж стоковой графики, -клипарт, -мультфильмы и -symboleEnergiesparer
Energiespar-Vektor-Illustration на прозрачном фоне. Symbole в премиум-качестве. Векторные флаги Farbsymbol für Konzept- und Grafikdesign.
CFL-Glühbirne von Transparenten Wasser Tropfen Vektor — CFL лампа для рисования стоковой графики, -клипарта, -мультфильмов и -символовCFL-Glühbirne von Transparenten Wasser Tropfen Vektor
Угловой символ луча для светодиодного освещения — векторная иллюстрация. — cfl лампа для рисования сток-графика, -клипарт, -мультфильмы и -символ Угол луча-Символ для светодиодного освещения — Вектор-иллюстрация.
Vektorillustration
запасная лампа-символ энергии. монохромный стильный дизайн от крафта и энергии-иконки. пользовательский интерфейс пиктограмма идеальной пиктограммы энергиипаренде лампа-символ. веб-дизайн, приложения, программное обеспечение, печать. — cfl лампа для рисования сток-графика, -клипарт, -мультфильмы и -символЭнергозапасная-Лампа-Символ. Монохромный стильный дизайн от Kraft и…
Символ энергетического пара. Monochromes Design aus Kraft- und Energiesammlung. БЕНУЦЕРОБЕРФЛЕЧЕ. Пиктограмма идеального изображения Пиктограмма Energiesparlampe Symbol. Веб-дизайн, приложения, программное обеспечение, Drucknutzung.
символ угла луча для светодиодного освещения — векторная иллюстрация. — cfl лампа для рисования сток-графика, -клипарт, -мультфильмы и -символУгол луча-Символ для светодиодного освещения — Вектор-иллюстрация.
wolfram-glühbirne aus Transparentem Wassertropfenvektor — cfl лампа для рисования сток-графика, -клипарт, -мультфильмы и -символWolfram-Glühbirne aus Transparentem Wassertropfenvektor
Угловой символ для светодиодного освещения — векторная иллюстрация.
— cfl лампа для рисования стоковых графиков, -клипартов, -мультфильмов и -символовУгловой символ для светодиодного освещения — векторная иллюстрация.
Vektorillustration
Символ угла луча для светодиодного освещения — векторная иллюстрация. — cfl лампа для рисования сток-графика, -клипарт, -мультфильмы и -символУгол луча-Символ для светодиодного освещения — Вектор-иллюстрация.
Vektorillustration
270-grad-winkel-symbol — cfl лампочка для рисования сток-графика, -клипарт, -мультфильмы и -символ270-Град-Винкель-Символ
фон 13.001 Save Electricity Drawing Стоковые фото, картинки и изображения
Непрерывный рисунок одной линии лампочки с деревом внутри. концепция экологии
Растение внутри лампочки на рисунке одной линией. креативная концепция зеленой энергии и экологически чистых источников. редактируемый штрих. векторная иллюстрация
Энергосберегающая люминесцентная лампочка становится зеленой с иллюстрацией карты мира на белом фоне
Экономия энергии
Лампочка с растущим растением.
экологически чистая и устойчивая среда
Экологический рисунок. коллекция изображений концепции зеленой энергии чистая окружающая среда экономит воздух био СО2 вектор роста растений. эко рециркуляция, экономия зеленой энергии иллюстрация
экономия денег за счет энергоэффективности
выключите свет, пожалуйста, фон в плоском дизайне
Лампочка с растущим деревом. экологически чистая и устойчивая среда
Концепция экономии энергии
Концепция линии экологии. глобальная гельминтная природа, экосистема, зеленая среда, перерабатывающая промышленность. бизнес-инновации эко-векторный набор
Концепция окружающей среды, плоские крошечные люди пара векторные иллюстрации. зеленая и здоровая планета Земля против промышленного загрязнения и проблем глобального потепления. возобновляемая энергия и устойчивое развитие.
Концепция векторного эскиза дня часа Земли. простой фон с текстом. одна непрерывная линия рисует каракули, минималистичный веб-постер.
Плоская композиция с диаграммой энергоэффективности, цветными маркерами и флуоресцентной лампочкой на белом деревянном фоне
Векторные иконки черных лампочек, установленные на сером
Спасти мир.
Вид сверху на окрашенный в белый цвет электрический велосипед на асфальте
Растение внутри лампочки с вилкой на одном чертеже. креативная концепция эко-энергии и экологически чистых источников. горизонтальный векторный веб-баннер
Симпатичная девушка обнимает лампочку, затыкает лампочку, завод, окружающая среда, экология, векторная иллюстрация. Стиль дизайна 80-х — 90-х годов. модный. векторные иллюстрации
Экономия воды и электричества значок концепции цвета rgb мелом. ответственное потребление ресурсов. эффективное использование. идея экологии. векторная изолированная иллюстрация классной доски на черном фоне
Концепция энергоэффективности. мелки и домик, нарисованный на доске
Светящаяся лампочка с шестернями и шестеренками.
работа в команде и концепция идеи. 3d-рендеринг
Креативная концепция бизнес-образования фото электрической лампочки из листа бумаги с идеей знак на белом фоне.
Фиксация света — идеи и концепция творчества
Непрерывное рисование линий. электрическая лампочка, освещенная на стебле растения с листьями. метафора экологической идеи. векторная иллюстрация
Карта мира с лампочками и часами на белом фоне, векторная иллюстрация
Лампочки. набор иконок лампы
Рисунок зеленый фон природы. эко-концепция
Экономьте энергию сейчас
Высокодетализированная реалистичная иллюстрация лампочки, вектор
Иконка концепции полной загрузки посудомоечной машины
Векторный дизайн Международного дня Земли
Баннер с растением внутри лампочки в одной линии рисунка. креативная концепция зеленой энергии и экологически чистых источников. горизонтальная векторная иллюстрация, веб-целевая страница
Значок черной линии нехватки воды.
экологическая катастрофа. изолированный векторный элемент. набросок пиктограммы для веб-страницы, мобильного приложения, промо.
Рука бизнесмена держит лампочку с чертежными шестернями. работа в команде и концепция идеи
Концепция часа Земли. рука выключает свет, и земля светится в темноте. редактируемый клип.
День Земли, концепция часа с милыми гномами с часами, глобусом и лампочкой. акварельные иллюстрации
Счета за коммунальные услуги и платежные элементы дизайна набор, изолированные на белом фоне. векторный нарисованный вручную рисунок счета-фактуры, счетчик электроэнергии, система отопления, газовая горелка, энергосберегающая лампочка
Плоская композиция с разноцветными полосами, лампочкой и листьями на белом фоне. Таблица рейтинга энергоэффективности
Эко-штекер с молодой женщиной, держащей планшетный компьютер в кресле
Бизнесмен рисует график эффективности на виртуальном экране на темном фоне, крупным планом
Ноутбук с графиком рейтинга энергоэффективности и лампочкой на белом деревянном фоне, плоская планировка
Значок концепции снижения энергопотребления.
общая инициатива абстрактная идея тонкая линия иллюстрации. экономия электроэнергии. уменьшить загрязнение окружающей среды. векторный изолированный контур цветной рисунок
Векторная ручная иллюстрация энергосберегающей лампы в стиле винтажной гравировки. изолированные на белом фоне.
Электромобиль с молодым человеком, использующим планшетный компьютер
Бизнесмен рисует график эффективности на виртуальном экране на цветном фоне, крупным планом
Диаграмма рейтинга энергоэффективности и зеленые листья на белом фоне, вид сверху
Набор линейных значков электроэнергии. электричество. производство и накопление электроэнергии. символы контура тонкой линии. изолированные векторные иллюстрации. редактируемый штрих 48×48 пикселей идеально.
Плоская композиция с диаграммой рейтинга энергоэффективности, ручкой и калькулятором на белом деревянном фоне
Значок концепции энергоэффективности. устойчивость в развитии. снизить выбросы и стоимость. идея гражданского строительства тонкая линия иллюстрации.
векторный изолированный контур rgb цветной рисунок. редактируемый штрих
Набор на тему экологии. каракули набор символов защиты окружающей среды. экологически чистое потребление. осознанное потребление.
Набор иконок концепции экономии ресурсов. устойчивая технология. эффективное потребление. идея сокращения использования запасов тонкой линии цветных иллюстраций rgb. векторные изолированные контурные рисунки. редактируемый штрих
Молодой человек рисует график эффективности на доске
Красочный геометрический бесшовный узор. яркий фон. Стиль дизайна 80-х — 90-х годов. модный. векторная иллюстрация
Солнечные батареи Пиксель идеальный линейный значок. экологически чистая энергетика. электроснабжение. тонкая линия настраиваемой иллюстрации. символ контура. векторный изолированный рисунок контура. редактируемый штрих
Строитель с энергетическим сертификатом
Набор иконок ресурсосберегающей бирюзовой концепции
Иконка концепции редко используемого автомобиля с кондиционером.
снизить потребление энергии. эффективное использование газа. идея экономии ресурсов тонкая линия иллюстрации. векторный изолированный контур rgb цветной рисунок. редактируемый штрих
Ветрогенератор с одной непрерывной линией. сохранить экологию зеленой энергии электричества. ветряная мельница один эскиз наброски рисунок векторные иллюстрации
Лампочки иконки в изометрическом 3d стиле, изолированные на белом
Блокнот с красочными полосами, маркеры и флуоресцентные лампочки на фоне белого мрамора, плоский лежал. Таблица рейтинга энергоэффективности
Редко используемый автомобильный кондиционер с бирюзовой концепцией icon
Композиция с диаграммой рейтинга энергоэффективности, лампочками и калькулятором на белом фоне
Нарисованная вручную векторная иллюстрация. элементы экологического дизайна (растение, росток, энергосберегающая лампа, ветряная мельница, велосипед). эко иконки в стиле эскиза. идеально подходит для приглашений, поздравительных открыток, блогов, плакатов и т.
д.
Лампочка для рисования от руки. vector illustration
Выключите, выключите свет, экономьте энергию, концепция энергосбережения. минимальный векторный фон с одним непрерывным рисунком линии.
Рисование каракулей — концепция солнечной энергии. возобновляемая солнечная энергия с фотогальваническими элементами на крыше дома.
Набор экологических векторных рисунков, рисованная иллюстрация
Светодиодная энергосберегающая лампа. реалистичная иконка
Карта мира лампочки с часами, векторная иллюстрация
Композиция со скомканными деньгами в виде лампочки лампочки и энергоэффективность текста на черном фоне, вид сверху
Значок векторной линии электрической вилки на белом фоне. значок линии электрической вилки для инфографики, веб-сайта или приложения. масштабируемая иконка, разработанная на сетке.
Двойная экспозиция инженера, рисующего план энергосберегающего дома с диаграммами рейтинга энергоэффективности ( eer ).
Концепция esg или экологического социального управления.
рука с текстом рисования мелом.
Концепция или концептуальный энергосберегающий рукописный текст на песке на пляже с волнами на экзотическом острове для окружающей среды, экологии, экономики, переработки, сохранения, океана, природы, воды и сообщения
Здание, дом с фотоэлектрическими солнечными батареями на крыша.
Использование энергии рукописного текста. бизнес-идея количество энергии, потребляемой или используемой в процессе или системе леди рисование стоя держа проектор пульт дистанционного управления представляя круговые диаграммы
рукописный текст потребление энергии. бизнес-идея количество энергии, потребляемой или используемой в процессе или системе бизнес-леди рисунок Холдинг пустой белой доске, представляя объявления
Написание отображения текста энергосбережения. обзор бизнеса сокращение количества энергии, потребляемой в процессе рисования ноутбука, показывающего график роста, указывающий на экран.
Вдохновение показывает расход энергии.
бизнес-обзор количество энергии, потребляемой или используемой в процессе или системе человек на горе рисует гордится своим успехом в восхождении на облака.
Энергосберегающая лампочка и винтажный вольтметр. концепция энергосбережения.
Экологически чистая и устойчивая среда, альтернативная энергия и концепция возобновляемых источников энергии
Вывеска с изображением зеленых технологий. бизнес-концепция обращает вспять воздействие человеческой деятельности на окружающую среду человек рисует стоя и держит компьютерный микрочип, показывающий новые технологии.
Крупный план руки, держащей лампочку над классной доской
Подпись к тексту, представляющая экономию энергии. бизнес-идея, уменьшающая количество используемой энергии, достигающая аналогичного результата, простая доска с направляющей линией для рисования шагов по всему миру.
Крупный план руки, держащей лампочку, рисунок мелом
Текстовый знак, показывающий энергосбережение, бизнес-витрина, сокращение количества энергии, потребляемой в процессе рисования мегафона с пузырем разговора, показывающим новое объявление.
Иконка зеленой энергии на иллюстрации
Рукописный текст зеленой технологии. слово, написанное на обратном влиянии человеческой деятельности на окружающую среду. человек рисует стоя, подбирая четыре кусочка головоломки.
Высокодетализированная реалистичная иллюстрация лампочки, вектор
Значок концепции отключения прибора бирюзового цвета
Бизнесмен демонстрирует свою идею, держа половину виртуальной лампочки и свой мозг на версуале. проницательная концепция и творческое вдохновение.
Текст, демонстрирующий сохранение энергии вдохновения. концепция, означающая сокращение количества энергии, потребляемой в процессе рисования копилки с большим листом бумаги, застрявшим в отверстии.
Энергозатратность рукописного текста. бизнес-обзор количество энергии, потребляемой или используемой в процессе или системе мегафоны рисование дающие положительные комментарии делающие объявление
Ручной рисунок знаки различных зеленых источников энергии в форме шестигранника, знак «сокращать, повторно использовать, перерабатывать» в центре.
размытый зеленый фон. концепция чистой окружающей среды.
Когда выключать свет
Энергосбережение
Изображение
Экономическая эффективность выключения света зависит от типа лампочки и стоимости электроэнергии. Тип используемой лампочки важен по нескольким причинам. Все лампочки имеют номинальный или номинальный срок службы, который зависит от того, сколько раз они включаются и выключаются. Чем чаще они включаются и выключаются, тем меньше срок их эксплуатации.
Лампы накаливания
Лампы накаливания следует выключать всякий раз, когда они не нужны, поскольку они являются наименее эффективным типом освещения. 90% энергии, которую они используют, выделяется в виде тепла, и только около 10% — в виде света. Выключение света также сделает комнату прохладнее, что является дополнительным преимуществом летом.
Галогенное освещение
Хотя галогенные лампы более эффективны, чем традиционные лампы накаливания, они используют ту же технологию и гораздо менее эффективны, чем КЛЛ и светодиоды.
Поэтому лучше выключать эти огни, когда они не нужны.
Освещение КЛЛ
Поскольку они уже очень эффективны, экономическая эффективность отключения КЛЛ для экономии энергии немного сложнее. Общее практическое правило таково:
- Если вас не будет в комнате 15 минут или меньше, оставьте его включенным.
- Если вы будете находиться вне комнаты более 15 минут, выключите его.
На срок службы КЛЛ в большей степени влияет количество включений и выключений. Как правило, вы можете продлить срок службы лампы CFL, включив и выключив ее реже, чем если бы вы просто использовали ее меньше.
Широко распространено мнение, что компактные люминесцентные лампы потребляют много энергии для запуска, и лучше не выключать их на короткое время. Количество энергии варьируется в зависимости от производителя и модели, однако лампы с рейтингом ENERGY STAR© должны выдерживать быстрое включение с пятиминутными интервалами, чтобы гарантировать, что они могут выдерживать частые переключения.
В любом случае относительно более высокий требуемый «пусковой» ток длится половину периода или 1/120 секунды. Количество электроэнергии, потребляемой для подачи пускового тока, равно нескольким секундам или меньше при нормальной работе освещения. Выключение люминесцентных ламп более чем на 5 секунд сэкономит больше энергии, чем будет израсходовано при их повторном включении. Таким образом, реальная проблема заключается в соотношении стоимости электроэнергии, сэкономленной за счет выключения света, к стоимости замены лампочки. Это, в свою очередь, определяет кратчайший рентабельный период выключения люминесцентного света.
Стоимость энергии, сэкономленной за счет выключения компактных люминесцентных ламп, зависит от нескольких факторов:
- Цена, которую электроэнергетическая компания взимает со своих клиентов, зависит от «классов» потребителей, которые обычно относятся к жилым, коммерческим и промышленным. В каждом классе могут быть разные тарифные планы.
- Некоторые коммунальные службы могут взимать разные тарифы за потребление электроэнергии в разное время суток.
Как правило, для коммунальных служб производство электроэнергии в определенные периоды высокого спроса или потребления, называемые пиками, обходится дороже. - Некоторые коммунальные предприятия могут взимать с коммерческих и промышленных потребителей более высокую плату за киловатт-час (кВтч) в периоды пиковой нагрузки, чем за потребление в непиковые периоды.
- Некоторые коммунальные службы могут также взимать базовую ставку за определенный уровень потребления и более высокие ставки за увеличение блоков потребления.
- Часто коммунальное предприятие добавляет различные сборы за обслуживание, базовую плату и/или налоги за расчетный период, которые могут быть усреднены за потребленный кВтч, если они еще не учтены в ставке.
Светодиодное освещение
Срок службы светодиода не зависит от его включения и выключения. В то время как срок службы люминесцентных ламп уменьшается, чем чаще они включаются и выключаются, это не оказывает негативного влияния на срок службы светодиодов.
Эта характеристика дает светодиодам несколько явных преимуществ, когда речь идет об эксплуатации. Например, светодиоды имеют преимущество при использовании в сочетании с датчиками присутствия или датчиками дневного света, которые работают в режиме включения-выключения. Также, в отличие от традиционных технологий, светодиоды включаются на полную яркость практически мгновенно, без задержки. На светодиоды также в значительной степени не влияет вибрация, поскольку они не имеют нитей накала или стеклянных корпусов.
Расчет экономии энергии
Изображение
Чтобы рассчитать точное значение экономии энергии за счет выключения лампочки, необходимо сначала определить, сколько энергии потребляет лампочка, когда она включена. На каждой лампочке напечатана номинальная мощность. Например, если мощность 40 Вт, а лампочка включена на один час, она будет потреблять 0,04 кВтч, или если она выключена на один час, вы сэкономите 0,04 кВтч. (Обратите внимание, что многие люминесцентные светильники имеют две или более ламп.
Кроме того, один выключатель может управлять несколькими светильниками — «массивом». Добавьте экономию для каждого светильника, чтобы определить общую экономию энергии.)
Затем вам необходимо узнать, сколько вы платите за электроэнергию за кВтч (в целом и в пиковые периоды). Вам нужно будет просмотреть свои счета за электроэнергию и посмотреть, сколько коммунальные услуги взимают за кВтч. Умножьте тариф за кВтч на количество сэкономленной электроэнергии, и это даст вам значение экономии. Продолжая приведенный выше пример, предположим, что ваш тариф на электроэнергию составляет 10 центов за кВтч. Тогда стоимость экономии энергии составит 0,4 цента (0,004 доллара США). Значение экономии будет увеличиваться, чем выше мощность лампы, чем больше количество лампочек, управляемых одним выключателем, и чем выше тариф за кВтч.
Наиболее рентабельный период времени, в течение которого свет (или комплект огней) может быть выключен до того, как стоимость экономии превысит затраты на замену ламп (из-за их сокращенного срока службы), будет зависеть от типа и модель лампочки и балласта.
Стоимость замены лампочки (или балласта) зависит от стоимости лампочки и трудозатрат на ее выполнение.
Производители осветительных приборов должны иметь возможность предоставлять информацию о рабочем цикле своей продукции. В общем, чем более энергоэффективна лампочка, тем дольше вы можете оставить ее включенной, прежде чем ее выключение станет рентабельным.
Помимо выключения света вручную, вы можете использовать датчики, таймеры и другие автоматические элементы управления освещением.
Energy Saving Lamps & Health
Languages:Deutsch [de]English [en]Español [es]Français [fr]
Energy Saving Lamps » Уровень 1
- Уровень 1: Сводка
- Уровень 2: Детали
- Уровень 3: Источник
- О
- Ссылки
Глоссарий Термины
Контекст — В настоящее время обычные лампы накаливания заменяются более энергоэффективными лампами, в основном компактными люминесцентными лампами (КЛЛ).
Флуоресцентный свет уже много лет используется в подвесных люминесцентных лампах, не вызывая никаких проблем. Тем не менее, некоторые «светочувствительные» ассоциации граждан выразили обеспокоенность по поводу компактных люминесцентных ламп.
Усиливают ли эти энергосберегающие лампы симптомы у пациентов с определенными заболеваниями?
Оценка Научного комитета Европейской комиссии по возникающим и недавно выявленным рискам для здоровья (SCENIHR)
- Введение. Что такое свет?
- Как свет, инфракрасное и ультрафиолетовое излучение взаимодействуют с кожей и глазами?
- Как работают люминесцентные лампы?
- Могут ли люминесцентные лампы ухудшить состояние здоровья, не связанное с кожей?
- Могут ли люминесцентные лампы воздействовать на людей с кожными заболеваниями?
- Представляют ли энергосберегающие лампы риск для некоторых групп пациентов в ЕС?
- Выводы
Ответы на эти вопросы являются точным изложением научного мнения
, подготовленного в 2008 г.
Научным комитетом по новым и недавно выявленным
Риски для здоровья (SCENIHR):
«Светочувствительность» Подробнее…
Уровень 1 Вопросы
Верхняя
- Уровень 1: РЕЗЮМЕ
- . ?
Свет состоит из электромагнитные волны, которые могут быть видно человеческим глазом
Помимо видимого света, солнце также излучает инфракрасное (ИК) и ультрафиолетовое (УФ) излучение. Ультрафиолетовое излучение несет больше энергии и инфракрасного излучения меньше энергии, чем видимый свет. Большая часть высокоэнергетического УФ-излучения отфильтровывается атмосферой до достижения поверхность Земли.
Подробнее…Подробнее на уровне 2 ->
Уровень 1 Вопросы
TOP
- Уровень 1: Свод
- Уровень 2: Подробности
- Уровень 3: . Исводный
- Ссылки
Следующий вопрос
2. Как свет, инфракрасное и ультрафиолетовое излучение взаимодействуют с кожей и глазами?
Взаимодействие с кожей и глазами зависит от длины волны радиация
Источник: GreenFactsСвет необходим для жизни на Земле и влияет на людей и других живые организмы различными способами. Например, взаимодействие света с нашей кожей и глазами влияет на наше восприятие тепла и холода. Это также помогает организму регулировать процессы, которые приводят к бодрствованию и отдыху в течение смены дня и ночи и в разные времена года.

Когда излучение достигает кожи или глаз, оно может отражаться или может проникать в ткани и быть поглощены или рассеяны в различных направления. Это взаимодействие зависит от длины волны излучения.
- Мост ультрафиолетовое излучение не проникает дальше верхних слоев кожи.
Хотя это имеет некоторые полезные эффекты, такие как помощь в производстве
витамина D, в целом это
считается вредным, так как может повредить
белки и
ДНК в коже и глазах,
особенно ультрафиолетовое излучение с короткими длинами волн (UVC).
Немного
люди особенно восприимчивы к УФ-излучению и становятся
солнечные ожоги даже после очень низкого воздействия или показывают ненормальные
аллергические кожные реакции. - Излучение более длинных волн, включая видимый свет а также инфракрасное излучение , обычно безвреден, хотя может согреться на открытом воздухе салфетка. Взаимодействие видимый свет со светочувствительным клеток глаза позволяет нам видеть цвета.
Подробнее…
Подробнее на уровне 2 ->
Уровень 1 Вопросы
TOP
- Уровень 1: Свод
- Уровень 2: Подробности
- Уровень 3: .
Исводный - Ссылки
Следующий вопрос
3. Как работают люминесцентные лампы?
Одноконтурная компактная люминесцентная лампа
Источник: Армин КюбельбекЛюминесцентные лампы изготовлены из стеклянная трубка, содержащая смесь газов низкого давления, включая Меркурий. Трубки покрыты флуоресцентные химические вещества. При включении тока начинается механизмы на каждом конце лампы производят электроны, возбуждающие газы внутри трубки и заставляют их испускать ультрафиолетовое (УФ) излучение. Этот УФ-излучение попадает на флуоресцентное покрытие, излучающее свет. Цвет излучаемого света зависит от химического состава покрытие.
Некоторые люминесцентные лампы излучают больше синего света, чем обычные.
лампы накаливания и поэтому
лучше имитировать дневной свет.Люминесцентные лампы имеют стекло конверт, который отфильтровывает ультрафиолетовое излучение, но в некоторых случаях некоторое количество УФ-излучения может пройти. Использование конвертов из двойного стекла резко снижает количество испускаемого УФ-излучения.
Компактные люминесцентные лампы (КЛЛ) излучают свет и немного УФ излучение, но их электронные схемы – как и любые электронные или электрическое устройство — также генерирует некоторые электромагнитные поля.
величина этих полей на типичных рабочих расстояниях остается хорошо
ниже допустимого и типичного для бытовой техники.В отличие от обычного только лампы накаливания генерировать низкую частоту электрические и магнитные поля, компактные люминесцентные лампы генерируют поля низких и средних частот. Точный диапазон частот зависит от типа лампы.
Интенсивность любой лампы может колебаться или «мерцать» при питании от переменный ток. В то время как старше технология люминесцентных ламп показал значительное мерцание из-за необходимой электронной схемы для эксплуатации эта проблема была значительно уменьшена с текущим технологии до такой степени, что КЛЛ называют «без мерцания».
Подробнее…Подробнее на уровне 2 ->
Уровень 1 Вопросы
TOP
- Уровень 1: Свод
- Уровень 2: Подробности
- Уровень 3: . Исводный
- Ссылки
Следующий вопрос
4. Могут ли люминесцентные лампы ухудшить состояние здоровья, не связанное с кожей?
Мерцание может вызвать мигрень
Источник: Боб СмитНекоторые люди, страдающие от различных заболеваний, не связанных с кожи утверждают, что использование люминесцентные лампы усугубляют их симптомы. Такая связь не подтверждается научными данными. Есть необходимость дополнительных исследований, прежде чем можно будет сделать окончательные выводы относительно нескольких условий.
Опасения объяснялись
различные характеристики энергосбережения
компактные люминесцентные лампы
(КЛЛ), а именно мерцание,
ультрафиолетовое излучение и синий свет
они производят и
электромагнитные поля.Мерцание вообще может вызывать мигрень и даже припадки у некоторых эпилептиков больных, но таких нет Сообщалось об эффектах при правильной работе КЛЛ.
Есть некоторые доказательства того, что синий свет в целом может ухудшить заболевания сетчатки у восприимчивых пациентов.
Нельзя исключать, что светобоязнь , ненормальная чувствительность к свету, вызванная или усугубляемая различными световые условия.

Нет никаких доказательств того, что флуоресцентный свет оказывает негативное влияние на люди с аутизм , но влияние не может быть исключено.
Имеются достаточные доказательства того, что использование компактные люминесцентные лампы не усугублять дислексия и Ирлен Мирс – нарушения обучаемости, которые приводят к трудностям с чтением и написание.
Не сообщалось о каких-либо эффектах компактные люминесцентные лампы на лица с синдром хронической усталости, фибромиалгия, диспраксия , или ВИЧ .

Крайне маловероятно, что люминесцентные лампы, используемые для комнаты освещение может вызвать снежная слепота или катаракты .
Кажется, нет никакой связи между электромагнитные поля, создаваемые компактные или другие люминесцентные лампы а также электромагнитная гиперчувствительность . Подробнее…
Подробнее на уровне 2 ->
Уровень 1 Вопросы
TOP
- Уровень 1: Свод
- Уровень 2: Подробности
- Уровень 3: . Исводный
- Ссылки
Следующий вопрос
5.
Могут ли люминесцентные лампы воздействовать на людей с кожными заболеваниями?Лампы, используемые близко к коже, могут вызвать проблемы у людей, которые чрезвычайно чувствительны к свету
Источник: Саймон КатаудоВоздействие некоторых видов компактные люминесцентные лампы (КЛЛ) с одним стеклом оболочка может вызвать проблемы у пациентов, которые чрезвычайно чувствительны к солнечного света, в частности его УФА и УФ-компоненты. Это особенно в случае, когда источник находится близко к коже (т.е. 20 см или менее). Чрезвычайно чувствительные пациенты включают людей с наследственной кожные заболевания, вызванные светом, а также у людей с кожными заболевания, причины которых неизвестны.
Нефильтрованный ультрафиолетовый свет от таких
компактные люминесцентные лампы могут
также вызывают кожные реакции у людей с
волчанка.Некоторые препараты вызывают проблемы с кожей при использовании в сочетании с воздействие света. Компактные люминесцентные лампы вряд ли будет проблемой. При лечении некоторых рака, используются несколько препаратов которые активируются под воздействием света и могут вызвать проблемы с кожей у некоторых пациентов. Пациенты, получающие такое лечение, потенциально могут показывают немного большую реакцию при воздействии света от компактных люминесцентные лампы по сравнению с свет от ламп накаливания.
Ожидается, что эти побочные реакции повлияют лишь на относительно небольшой
количество людей, и этого можно было бы избежать, используя двойной конверт
КЛЛ, которые лучше фильтруют
вне ультрафиолетового излучения.Для этих заболеваний необходимы дополнительные исследования, чтобы установить, компактные люминесцентные лампы представляют более высокий риск, чем лампы накаливания.
Дозы УФ от компактные люминесцентные лампы это оценивается как слишком малый, чтобы способствовать рак кожи. Подробнее…
More info in Level 2 —>
Level 1 Questions
Top
- Level 1: Summary
- Level 2: Details
- Level 3: Source
- About
- Ссылки
Следующий вопрос
6.
Представляют ли опасность энергосберегающие лампы для некоторых групп пациентов в ЕС?Некоторые группы пациентов обеспокоены тем, что использование вместо компактных люминесцентных ламп обычных ламп накаливания может усугубить некоторые заболевания. Основными причинами беспокойства являются мерцание и ультрафиолетовая радиация, электромагнитные поля и синий свет, который производят эти лампы.
Мерцающие огни могут усугубить симптомы некоторые заболевания, такие как эпилепсия и мигрени. Однако нет никаких доказательств того, что использование традиционные люминесцентные лампы или компактные люминесцентные лампы имеют те же эффекты.

Нет никаких доказательств того, что электромагнитные поля от компактных люминесцентных ламп вызывать или усугублять существующие симптомы у пациентов с определенными болезни.
УФС и синее излучение потенциально может усугубить симптомы у некоторых пациентов с заболеваниями которые делают их аномально чувствительными к свету. В худшем случае сценария, это коснется примерно 250 000 человек по всему ЕС. Риск от компактные люминесцентные лампы это ничтожна для широкой публики. Однако, используя некоторые одноконвертные компактные люминесцентные лампы для длительного периоды времени рядом с телом (менее 20 см), может привести к ультрафиолетовое облучение приближается к текущему пределу рабочего места, установленному на защитить рабочих от повреждения кожи и сетчатки глаза.
Использование двойного конверта
энергосберегающие лампы в значительной степени или полностью снизят риски для
как население в целом, так и светочувствительные люди.
Подробнее…More info in Level 2 —>
Level 1 Questions
Top
- Level 1: Summary
- Level 2: Details
- Level 3: Source
- About
- Ссылки
7. Выводы
Лампы с двойной оболочкой снижают риск для светочувствительных пациенты и др.
Источник: GreenFactsSCENIHR изучил характеристики энергосберегающих компактные люминесцентные лампы (КЛЛ) для оценки здоровья риски, связанные с их использованием.
На основании этого анализа Комитет
пришли к выводу, что:- Нет доказательств того, что мерцание и электромагнитные поля от компактные люминесцентные лампы позируют опасность для чувствительных людей.
- Единственное свойство компактных люминесцентных ламп, которое может создавать Дополнительным риском является ультрафиолетовое и синее световое излучение, испускаемое такие устройства. В худшем случае это излучение может усугубить симптомы примерно у 250 000 человек в ЕС, которые страдают редкой состояния кожи, которые делают их исключительно чувствительными к свету.
- Население в целом может получать значительные количества
ультрафиолетовое излучение, если они
подвергаются воздействию света, излучаемого некоторыми одноконвертными компактными
люминесцентные лампы в течение длительного периода времени на расстоянии менее
20 см.

- Использование двухконтурных энергосберегающих ламп или аналогичных Технология снизит риски как для населения в целом, так и для для светочувствительных пациентов.
Подробнее…
Дополнительная информация на уровне 2 —>
Трехуровневая структура, используемая для передачи этого мнения SCENIHR, защищена авторским правом GreenFacts asbl/vzw.
Энергосберегающие лампочки | Справочники и статьи Eartheasy
Электричество, потребляемое в течение срока службы одной лампы накаливания, стоит в 5-10 раз больше первоначальной покупной цены самой лампочки.
Светоизлучающие диоды (LED) и Компактные люминесцентные лампы (CFL) Лампы произвели революцию в области энергосберегающего освещения.
КЛЛ — это просто миниатюрные версии полноразмерных люминесцентных ламп.
Они ввинчиваются в стандартные патроны для ламп и излучают свет, похожий на свет обычных ламп накаливания, а не на флуоресцентное освещение, которое мы ассоциируем с фабриками и школами.Светодиоды — это маленькие, очень эффективные монолитные лампы. Новые светодиодные лампы сгруппированы в кластеры с рассеивающими линзами, что расширило возможности использования светодиодов в домашних условиях. Светодиодные технологии быстро развиваются, доступно множество новых стилей ламп. Первоначально более дорогие, чем компактные люминесцентные лампы, теперь светодиоды приносят больше пользы, поскольку служат дольше.
Статус энергоэффективного освещения
В связи с растущим предложением гораздо более эффективных ламп накаливания ЕС начал поэтапный запрет на лампы накаливания в 2009 году. Канада последовала этому примеру, запретив производство и импорт ламп накаливания более высокой мощности, начиная с 2014 года.
В 2007 году в США были установлены новые рекомендации по энергоэффективности для всех ламп, в соответствии с которыми были постепенно упразднены наименее эффективные лампы накаливания.
Лампы накаливания теперь доступны только в том случае, если они соответствуют новому энергетическому стандарту.По данным Министерства энергетики США, быстрое внедрение светодиодных ламп предотвратит попадание в атмосферу сотен миллионов тонн парниковых газов.
Австралия, Китай и многие страны Азии и Латинской Америки также прекратили или запретили использование ламп накаливания. По оценкам, эти изменения позволят каждой стране, которая перейдет на энергоэффективные лампы, сэкономить миллионы долларов в год.
По данным Министерства энергетики США, быстрое внедрение светодиодных ламп позволит сэкономить 265 миллиардов долларов в течение следующих 20 лет. Этот переход также поможет устранить необходимость строительства 40 новых электростанций и предотвратит попадание в атмосферу сотен миллионов тонн парниковых газов.
Светодиодные лампочки
Светодиоды (светоизлучающие диоды) — это сплошные лампочки, которые чрезвычайно энергоэффективны.
Когда впервые были разработаны, светодиоды были ограничены использованием одной лампы в таких приложениях, как приборные панели, электроника, фонари-ручки, а в последнее время — цепочки внутренних и наружных рождественских огней.Производители расширили область применения светодиодов, «сгруппировав» маленькие лампочки. Первые сгруппированные лампочки использовались для устройств с батарейным питанием, таких как фонарики и налобные фонари. Сегодня светодиодные лампы изготавливаются с использованием до 180 ламп на кластер и заключены в рассеивающие линзы, которые распространяют свет более широкими лучами. Светодиоды, доступные со стандартными цоколями, подходящими для обычных бытовых светильников, представляют собой новое поколение домашнего освещения.
Важной особенностью светодиодов является то, что свет является направленным, в отличие от ламп накаливания, которые рассеивают свет более сферически. Это преимущество встроенного освещения или освещения под шкафом, но недостаток для настольных ламп.
В новых конструкциях светодиодных ламп это ограничение по направлению устраняется за счет использования рассеивающих линз и отражателей для рассеивания света, более похожего на лампу накаливания.Высокая стоимость производства светодиодов препятствует их широкому использованию. Однако у исследователей из Университета Пердью есть разработал процесс использования недорогих кремниевых пластин для замены дорогостоящей технологии на основе сапфира. Это быстро привело к тому, что цены на светодиоды стали конкурентоспособными по сравнению с компактными люминесцентными лампами и лампами накаливания. Светодиодные лампы в настоящее время являются стандартом для большинства потребностей в освещении.
Преимущества светодиодных ламп
Долговечность
Светодиодные лампы служат в 10 раз дольше, чем компактные люминесцентные лампы, и в 40 раз дольше, чем обычные лампы накаливания.
Прочный
Поскольку светодиоды не имеют нити накала, они не повреждаются при обстоятельствах, когда обычная лампа накаливания разбивается.
Поскольку они твердые, светодиодные лампы хорошо выдерживают сотрясения и удары.Cool
Эти лампы не вызывают накопления тепла; Светодиоды производят 3,4 БТЕ/час по сравнению с 85 для ламп накаливания. Обычные лампы накаливания нагреваются и способствуют накоплению тепла в помещении. Светодиоды предотвращают накопление тепла, тем самым помогая снизить затраты на кондиционирование воздуха в доме.
Без ртути
При производстве светодиодов ртуть не используется.
Более эффективные
Светодиодные лампы потребляют всего 2–17 Вт электроэнергии (от 1/3 до 1/30 мощности ламп накаливания или компактных люминесцентных ламп). Светодиодные лампы, используемые в светильниках внутри дома, экономят электроэнергию, остаются прохладными и экономят деньги на затратах на замену, поскольку светодиодные лампы служат так долго. Маленькие светодиодные фонарики продлевают срок службы батареи в 10-15 раз дольше, чем лампы накаливания.
Экономичность
Стоимость новых светодиодных ламп значительно снизилась за последние несколько лет и продолжает снижаться.
Чтобы увидеть сравнение стоимости между различными типами энергосберегающих лампочек, см. наши таблицы сравнения лампочек.Освещение для удаленных районов и переносные генераторы
Из-за низкого энергопотребления светодиодов использование солнечных панелей становится более практичным и менее затратным, чем прокладка линии электропередач или использование генератора для освещения удаленных или автономных районов. Светодиодные лампочки также идеально подходят для использования с небольшими портативными генераторами, которые домовладельцы используют для резервного питания в чрезвычайных ситуациях.
Выбор светодиодной лампочки
На современном рынке появляется множество различных моделей и стилей светодиодных ламп. При выборе лампочки имейте в виду следующее:
Оценка желаемой яркости
Прочтите упаковку, чтобы выбрать желаемый уровень яркости. Вы можете использовать мощность для сравнения освещения лампы. Например, светодиод мощностью 9 Вт эквивалентен по выходной мощности лампе накаливания мощностью 45 Вт.
Однако мощность измеряет используемую энергию, а не светоотдачу. Новый метод сравнения ламп — люмен. «Люмен» — это мера воспринимаемой яркости, и чем выше люмен, тем ярче лампа. Лампы с одинаковой мощностью могут различаться в люменах. Федеральная торговая комиссия (FTC) предписала, чтобы на всех упаковках лампочек отображались люмены в качестве основного показателя сравнения лампочек. Дополнительные сведения о люменах см. в разделе «Терминология светодиодов» далее на этой странице.Вам нужна трехходовая лампочка?
Новые светодиодные лампы доступны в виде комбинированных трехходовых ламп. Они заменяют лампы накаливания мощностью 30, 60 и 75 Вт, потребляя при этом на 80% меньше энергии, чем лампы накаливания.
Выбор между теплым и холодным светом
Доступны новые светодиодные лампы с «холодным» белым светом, который идеально подходит для рабочего освещения, и с «теплым» светом, обычно используемым для акцентного освещения или освещения небольших площадей.

Стандартное основание или основание на штифтах
Доступны светодиоды в нескольких типах штыревых цоколей или стандартных «винтовых» (Edison) цоколях для встроенного или направляющего освещения.
Выберите между стандартными и диммируемыми лампами
Некоторые светодиодные лампы теперь доступны с диммируемыми лампами. Они будут работать с любым стандартным диммерным выключателем.
Выбирайте высококачественные лампочки, иначе они умрут преждевременно
Не покупайте дешевые лампочки на eBay или у дискаунтеров. Они недорогие, потому что в лампах используется некачественный чип, который легко выходит из строя. Многие более дешевые варианты также не работают внутри закрытых светильников (см. ниже) и перегорают в течение года или меньше при нагревании.
Для закрытых светильников требуются специальные светодиодные лампы
Светодиоды имеют механизмы для рассеивания накопленного тепла, но для этого требуется больший поток воздуха, чем позволяют многие обычные светильники.
Лампы, предназначенные для закрытых светильников, прослужат дольше, чем стандартные светодиоды. Ищите явные заявления о том, что лампочка работает внутри закрытых светильников.Встраиваемые светильники, светильники в виде горшков и банок
Обязательно сравните диаметр рассматриваемой лампы с диаметром банки, которую вы наполняете. На ваших существующих лампах должно быть указано, являются ли они R20, BR30 или BR40. Ищите эти же номера на светодиодах, которые вы покупаете. Поскольку тепло также может быть проблемой для встраиваемых светильников, поищите описание, указывающее на его пригодность для встраиваемых светильников.
Прожекторы, прожекторы и акцентное освещение
Если вы заменяете прожекторы, прожекторы или акцентное освещение, обязательно подумайте, хотите ли вы, чтобы свет был рассеянным или сфокусированным. Всенаправленные лампы будут освещать большую площадь, а прожекторы и прожекторы будут иметь более узкую полосу освещения.
Поиск сертификатов:
Energy Star
Сертификация Energy Star означает, что лампа соответствует требованиям по энергоэффективности, установленным Агентством по охране окружающей среды США.

UL
UL означает Underwriters Laboratories, стороннюю американскую организацию по тестированию безопасности. Этикетка UL указывает, что изделие соответствует стандартам электробезопасности.
CE
Европейский аналог UL, CE расшифровывается как Conformité Européenne и используется для сертификации безопасности ряда продуктов.
DLC
Сертификация Design Lights Consortium (DLC) аналогична Energy Star, но DLC фокусируется исключительно на энергоэффективном освещении для коммерческого применения.
RoHS
RoHS ограничивает количество некоторых веществ, обычно используемых в электронном оборудовании, включая свинец, кадмий, ртуть, шестивалентный хром, полибромированные дифенилы и полибромированные дифениловые эфиры (ПБДЭ).
FCC
Символ FCC указывает на то, что электромагнитные помехи от лампы ниже пределов, установленных Федеральной комиссией по связи США.
Общие типы светодиодных ламп
Рассеивающие или всенаправленные лампы
В светодиодной лампе этого типа группы светодиодов покрыты линзой с ямочками, которая рассеивает свет по более широкой области.
Доступные в стандартных цоколях Эдисона, эти лампы имеют множество применений, например, для освещения помещений, веранд, ламп для чтения, акцентных ламп, коридоров и в условиях слабого освещения, где свет остается включенным в течение длительного времени.Светодиодные круглые лампы с регулируемой яркостью
Разработанные для туалетных столиков в ванной или везде, где требуется круглая лампочка, эти лампы производят свет, эквивалентный 40-ваттной лампе накаливания, но потребляют всего 10 ватт энергии. Эти лампы с регулируемой яркостью от 100% до 10% имеют угол раскрытия луча 200 градусов, что позволяет освещать большую площадь.
Трековое освещение, цоколь на штифтах
Доступные в исполнении MR-16 (с цоколем на штифтах), светодиоды идеально подходят для трекового освещения. Светодиоды не способствуют накоплению тепла в помещении, потому что независимо от того, как долго они остаются включенными, они не нагреваются на ощупь. Кроме того, поскольку они на 90% более эффективны, чем лампы накаливания, и служат в 10 раз дольше, чем КЛЛ, частота замены ламп значительно снижается.

Светодиодные рефлекторы заливающего света для встраиваемых канистры и трековых светильников, ввинчиваемое основание
Светодиоды теперь доступны для стандартных встраиваемых осветительных кашпо и корпусов. Они варьируются от 7,5 до 17 Вт с шириной луча от PAR20 до PAR38. Некоторые модели диммируются. Кроме того, потому что их 9На 0% более эффективны, чем лампы накаливания, и служат в 10 раз дольше, чем компактные люминесцентные лампы, частота замены ламп значительно снижается.
Пламенный наконечник, светодиоды в основании канделябра
Предназначенные для замены ламп накаливания, эти светодиоды с пламенным наконечником излучают свет, эквивалентный лампе накаливания мощностью 25–35 Вт, потребляя при этом всего 3,5 Вт электроэнергии. Из-за радиатора в основании свет не рассеивается вниз так сильно, как обычная лампа накаливания.
Светодиодные трубки
Предназначенные для замены люминесцентных ламп, эти светодиодные лампы выпускаются мощностью 8 и 16 Вт, которые заменяют традиционные 25-ваттные и 40-ваттные люминесцентные лампы T8/T10/T12.
Поскольку люминесцентные лампы часто устанавливаются на высоких потолках в коммерческих помещениях, возникает дополнительная экономия, поскольку частота замены ламп значительно снижается.Светодиодные панели
Светодиодные панельные светильники бывают различных размеров и могут заменить потолочное трубчатое освещение как в коммерческих, так и в жилых помещениях.
Светодиодные гирлянды
Чаще всего используются для зимних праздников. Замена цепочки праздничных ламп накаливания на светодиоды может сократить расходы на праздничное освещение более чем на 95%! Кроме того, они могут служить десятилетиями, что делает их еще более экономичным выбором. Для получения дополнительной информации об энергоэффективном праздничном освещении прочитайте нашу статью: Светодиодные рождественские огни и другие энергоэффективные украшения
Терминология светодиодов
Индекс цветопередачи (CRI)
CRI представляет качество света и его точность для правильной передачи цветов, то есть для того, чтобы мы могли воспринимать цвета такими, какими мы их знаем.
Идеальный индекс цветопередачи равен 100, и некоторые лампы накаливания приближаются к этому уровню. Светодиоды и компактные люминесцентные лампы используют разные конструктивные компоненты, пытаясь сравняться с CRI ламп накаливания. Рейтинги CRI светодиодных ламп варьируются от 70 до 95, а лучшие КЛЛ имеют рейтинги в середине 80-х. Например, светодиодная лампа CREE CR6 имеет CRI 90 теплый белый, что делает ее одной из самых высоких в отрасли.Коррелированная цветовая температура (CCT)
CCT — это мера, используемая для описания относительного цветового восприятия источника белого света. CCT указывает, кажется ли источник света более желтым/золотым/оранжевым или более синим, с точки зрения диапазона доступных оттенков «белого». CCT дается в кельвинах (единица абсолютной температуры). 2700К — «тепло», а 5000К — «холодно». Типичный цвет света, к которому мы привыкли при внутреннем домашнем освещении, — «теплый», 2700–2800 К.
При покупке лампочки ищите лампы, которые производят больше света, но потребляют меньше энергии.

Люмен
Стандартная единица измерения, которая используется для описания количества света, содержащегося в области, воспринимаемой человеческим глазом. Чем больше люменов, тем ярче свет. Вы можете использовать люмены для сравнения яркости любой лампы, независимо от технологии, лежащей в ее основе, и независимо от того, является ли она лампой накаливания, компактной люминесцентной лампой или светодиодной.
Световой поток
Световой поток измеряется в люменах. В случае с лампочками он дает оценку кажущегося количества света, которое будет производить лампочка. В зависимости от применения большая часть света лампы накаливания теряется, потому что он излучается во всех направлениях. Светодиодные лампы, с другой стороны, излучают направленный свет, направляя весь свет именно туда, где это необходимо.
На практике при покупке лампочки ищите лампочки, которые производят больше света, но потребляют меньше энергии. Понимание люменов как меры яркости облегчает выбор наиболее эффективной лампы для вашего применения.

Цвета светодиодных ламп
Большинство используемых сегодня светодиодных ламп представляют собой прозрачные или белые лампы, обычно имеющие «холодный» или «теплый» белый свет. Но светодиоды также доступны в разных цветах и используются как отдельные лампы или в кластерах для специальных применений.
Красный
Красный — традиционный цвет для поддержания ночного зрения. Некоторые светодиодные фары и фонари имеют возможность переключения на красный свет для использования в ночное время.
Зеленый
В настоящее время зеленый цвет является предпочтительным для пилотов и военных. Зеленый цвет также отлично подходит для сохранения ночного видения, он не стирает и не делает невидимыми красные отметки на картах и схемах.
Синий
Многим людям нравится синий свет, потому что он приятный для глаз, но исследования показывают, что некоторые цвета синего спектра могут влиять на циркадные ритмы человека и, следовательно, на сон. Сейчас ученые рекомендуют не пользоваться предметами, освещенными синим светом, за 2-3 часа до сна.

Белый
Самый популярный цвет светодиодов. Он излучает мягкий белый свет без резких отражений, бликов и теней.
Янтарный
Светодиодные желтые лампочки не привлекают летающих насекомых, как обычные белые лампочки. Янтарные светодиоды используются на открытом воздухе в таких местах, как внутренние дворики и террасы, где насекомые, летающие вокруг огней, доставляют неудобства.
Сравнение светоотдачив люменах: светодиоды, КЛЛ и лампы накаливания
Знаете ли вы, что количество ватт не говорит о том, насколько ярким будет свет?
Чтобы сравнить разные лампочки, вам нужно знать о люменах. Люмены, а не ватты, говорят вам, насколько ярко светит лампочка, независимо от ее типа. Чем больше люменов, тем ярче свет. Начиная с 2012 года этикетки на передней части упаковки лампочек теперь указывают яркость лампы в люменах, а не потребляемую ею энергию в ваттах.
Хотя люмены являются лучшим показателем сравнительного освещения среди различных ламп, они не всегда являются идеальным показателем.
В некоторых прожекторах используется внутренний отражатель в колбе, чтобы направить свет вниз. Покупая лампочки, обратите внимание, что лампочки, оснащенные отражателями, обеспечивают более направленный свет.В приведенной ниже таблице показана яркость в люменах, которую можно ожидать от лампочек разной мощности. Светодиодные лампы требуют гораздо меньше мощности, чем КЛЛ или лампы накаливания, поэтому светодиодные лампы более энергоэффективны и долговечны, чем лампы других типов.
Лампа накаливания Вт Люмен Эквивалент CFL Эквивалент LED 40 Вт 450 лм 9 Вт 5-10 Вт 60 Вт 800 лм 15 Вт 12 Вт 75 Вт 1100 лм 18 Вт 14 Вт 100 Вт 1600 лм 23 Вт 16-20 Вт 150 Вт 2600 лм 40 Вт 25-28 Вт Обращение со светодиодными лампами и их утилизация
Светодиоды могут содержать небольшое количество тяжелых металлов, таких как свинец, мышьяк и никель, поэтому с ними следует обращаться осторожно.
Относитесь к любой разбитой лампочке как к опасным отходам, что означает использование перчаток и маски и тщательную уборку территории. Упакуйте осколки лампы и любые используемые чистящие средства в двойные пакеты и обратитесь на местный объект по утилизации опасных отходов для получения инструкций о предпочтительном методе их утилизации. Многие, скорее всего, заставят вас просто выбросить его в мусорное ведро, а другие попросят принести его в пункт сбора опасных отходов.Несмотря на то, что светодиоды подлежат вторичной переработке, программ по переработке очень мало. Позвоните в местный центр сбора отходов, чтобы узнать, доступна ли переработка светодиодных ламп в вашем регионе. Вы также можете попробовать поискать в Recycle Nation предприятие по переработке, которое принимает светодиодные лампы рядом с вами.
Преимущества освещения КЛЛ
Эффективность
КЛЛ в четыре раза эффективнее и служат в 10 раз дольше, чем лампы накаливания. CFL мощностью 22 Вт имеет примерно такую же светоотдачу, как и лампа накаливания мощностью 100 Вт.
КЛЛ потребляют на 50-80% меньше энергии, чем лампы накаливания.Менее дорогой
Несмотря на то, что изначально они дороже, в долгосрочной перспективе вы экономите деньги, поскольку компактные люминесцентные лампы потребляют 1/3 электроэнергии и служат в 10 раз дольше, чем лампы накаливания. Одна 18-ваттная КЛЛ, используемая вместо 75-ваттной лампы накаливания, сэкономит около 570 кВтч за свой срок службы. При цене 8 центов за кВтч это означает экономию в 45 долларов.
Снижает загрязнение воздуха и воды
Замена одной лампы накаливания на компактную люминесцентную лампу предотвратит выброс в атмосферу полтонны CO2 в течение всего срока службы лампы. Если бы все в США использовали энергосберегающее освещение, мы могли бы выйти на пенсию 90 электростанций среднего размера. Экономия электроэнергии снижает выбросы CO2, оксида серы и высокоактивных ядерных отходов.
Высококачественный свет
Новые компактные люминесцентные лампы дают теплый приятный свет вместо «холодного белого» света старых флуоресцентных ламп.
Они используют редкоземельные люминофоры для превосходного цвета и теплоты. Новые КЛЛ с электронным балластом не мерцают и не гудят.Универсальность
КЛЛ могут применяться практически везде, где используются лампы накаливания. Энергоэффективные КЛЛ можно использовать во встраиваемых светильниках, настольных лампах, трековых светильниках, потолочных светильниках и крыльцах. Трехполосные компактные люминесцентные лампы теперь также доступны для ламп с трехполосной настройкой. Диммируемые компактные люминесцентные лампы также доступны для освещения с помощью диммерного выключателя.
Выбор КЛЛ
КЛЛ бывают разных форм и размеров. При покупке КЛЛ обратитесь к продавцу за рекомендациями и учтите следующее:
Выберите предпочитаемое качество света
Лампы КЛЛ имеют число Кельвина или «К», указанное на упаковке. КЛЛ с числом К от 2700 до 3000 излучают мягкий яркий свет, как лампы накаливания. КЛЛ с числом К от 3500 до 6000 излучают яркий свет.
По мере того, как вы поднимаетесь по шкале числа K, свет становится голубоватым и приближается к дневному свету.Например:
Прибл. 2700K = теплый белый (выглядит как лампа накаливания)
Прибл. 5000K = Холодный белый (белый/синий, яркий свет)Выберите форму
Доступны компактные люминесцентные лампы различных форм, подходящие для различных ламп и осветительных приборов. См. ниже на этой странице наиболее популярные формы КЛЛ.
Соответствие люменов заменяемой лампе накаливания
Люмены показывают количество генерируемого света. (Мощность — это показатель потребления энергии, а не силы света.) Световой поток указан на упаковке лампы или на странице товара при покупке ламп через Интернет.
КЛЛ Модели
КЛЛ доступны в различных стилях и формах. Некоторые имеют две, четыре или шесть трубок. Старые модели и специальные модели имеют отдельные трубки и балласты. У некоторых компактных люминесцентных ламп лампы и балласт постоянно соединены.
Это позволяет менять трубки без замены балласта. Другие имеют круглые или спиралевидные трубки. Как правило, размер или общая площадь поверхности трубки определяет, сколько света производит лампа.Следующие модели ламп компактных люминесцентных ламп поставляются со стандартными патронами для легкой установки в наиболее распространенных бытовых условиях.
Спиральные лампы
Эти лампы представляют собой непрерывную трубку в форме спирали, которая имеет такую же внешнюю форму и светоотдачу, что и стандартная лампа накаливания. Спиральные лампы CFL производятся в нескольких размерах, чтобы соответствовать большинству распространенных светильников.
Трехтрубные лампы
Эти КЛЛ имеют большее количество трубок на меньшей площади, что дает еще больше света при более короткой колбе. Они обеспечивают высокую светоотдачу в очень маленьком пространстве и могут использоваться в светильниках, предназначенных для ламп накаливания, таких как настольные лампы, лампы для чтения, открытые подвесные лампы и светильники без ламп.

Стандартные лампы
Это обычные спиральные лампы компактных люминесцентных ламп, которые размещаются внутри купола и оснащены стандартным цоколем, подходящим для обычных ламповых патронов. Они разработаны, чтобы создать вид традиционной лампочки для потребителей, которые ищут более знакомый внешний вид лампочки. Стеклянный рассеиватель обеспечивает качество света, аналогичное «мягко-белому» типу ламп накаливания.
Лампы-шары
Эта форма обычно используется в зеркалах для ванных комнат или открытых подвесных светильниках, а также в светильниках без колбы. В туалетных столиках обычно требуется несколько лампочек, которые выделяют лучистое тепло. Глобус CFL уменьшит накопление тепла при сохранении энергии. Стеклянный рассеиватель дает мягкий белый свет.
Прожекторы
Эти лампы идеально подходят для встраиваемых и направляющих светильников внутри и снаружи помещений. Они обеспечивают рассеянный, мягкий белый свет и выделяют меньше тепла, чем заливающие лампы накаливания или галогенные лампы.
Лампы заливающего света CFL доступны в различных размерах и мощности.Канделябр
Винтовая торпедообразная форма и небольшой цоколь этой лампы предназначены для небольших светильников по всему дому, от люстр до бра. Чтобы использовать лампочку на основе канделябра меньшего размера в обычном патроне, вы можете использовать переходник для патрона.
Ограничения лампочек CFL
Хотя компактные люминесцентные лампы являются отличным источником энергоэффективного освещения, они не всегда являются лучшим выбором для всех приложений освещения. Вот несколько ограничений, которые следует учитывать:
- Циклическое включение/выключение : КЛЛ чувствительны к частому циклическому включению/выключению. Их номинальный срок службы в 10 000 часов сокращается в приложениях, где свет включается и выключается очень часто. В шкафах и других местах, где необходим кратковременный свет, следует использовать лампы накаливания или светодиодные лампы.

- Диммеры : Диммируемые компактные люминесцентные лампы доступны для освещения с использованием диммерного выключателя, но проверьте упаковку; не все компактные люминесцентные лампы можно использовать с диммерными выключателями. Использование обычных компактных люминесцентных ламп с диммером может сократить срок службы лампы.
- На открытом воздухе : КЛЛ можно использовать на открытом воздухе, но они должны быть закрыты или защищены от непогоды. Низкие температуры могут снизить уровень освещенности — проверьте этикетку на упаковке, чтобы узнать, подходит ли лампа для использования вне помещений.
- Температура : Как отмечалось выше, низкие температуры обычно временно снижают уровень освещенности в КЛЛ, потому что им требуется некоторое время, чтобы нагреться до полной мощности. По этой причине большинство компактных люминесцентных ламп не лучший выбор для холодных подвалов или открытых дорожек в северном климате.

- Торговое освещение : КЛЛ не являются прожекторами. Освещение витрин розничных магазинов обычно требует узких фокусных лучей для более сильного точечного освещения. КЛЛ лучше подходят для зонального освещения.
- Содержание ртути : КЛЛ содержат небольшое количество ртути, которая является токсичным металлом. Этот металл может высвободиться, если лампочка разбита или во время утилизации. Для получения дополнительной информации о ртути и компактных люминесцентных лампах см. ниже.
Основной причиной сокращения срока службы компактных люминесцентных ламп является нагрев. КЛЛ имеют более короткий срок службы в осветительных приборах и розетках, где слабый поток воздуха и сильное тепловыделение, например, встроенное освещение. Для этих типов розеток рекомендуется использовать специально разработанные КЛЛ для встроенного освещения или Светодиоды . Другой основной причиной сокращения срока службы КЛЛ является слишком частое включение и выключение.
Эти лампочки следует использовать там, где они будут оставаться включенными в течение устойчивых периодов без включения и выключения.Ртуть и компактные люминесцентные лампы
Ртуть является токсичным металлом, связанным с загрязнением воды, рыбы и продуктов питания, и может привести к неблагоприятным последствиям для здоровья. Лампа компактной люминесцентной лампы обычно содержит в среднем 5 мг ртути (около одной пятой от того, что содержится в обычной батарейке для часов, и менее 1/100 от того, что содержится в амальгамной зубной пломбе). Электростанция выбрасывает 10 мг ртути для производства электроэнергии для работы лампы накаливания по сравнению с 2,4 мг ртути для работы КЛЛ за то же время. Чистая выгода от использования более энергоэффективной лампы положительна, и это особенно верно, если ртуть в люминесцентной лампе не попадает в поток отходов, когда срок службы лампы заканчивается.
Обращение с компактными люминесцентными лампами и их утилизация
Ртуть в компактных люминесцентных лампах не представляет опасности, пока они находятся в колбе, но если вы ее разобьете:
- Откройте окно и выйдите из комнаты на 15 минут или более.

- Используйте мокрую тряпку, чтобы очистить его, и положите все части вместе с тряпкой в пластиковый пакет.
- Поместите все материалы во второй запечатанный пластиковый пакет.
- Позвоните в местный центр утилизации, чтобы узнать, принимают ли они этот материал. Если нет и вы находитесь в США, просмотрите список компаний, принимающих КЛЛ по почте, который ведется Агентством по охране окружающей среды.
- Перегоревшие компактные люминесцентные лампы можно сдать в магазинах Home Depot и Ikea.
- Другим решением является сохранение использованных компактных люминесцентных ламп для сбора опасных бытовых отходов, которые затем будут отправлять лампы на предприятия, способные их обрабатывать, восстанавливать или перерабатывать.
- Для получения дополнительной информации об утилизации или переработке компактных люминесцентных ламп вы можете обратиться в местный муниципалитет.
Почему Eartheasy рекомендует светодиодные лампы:
Мы прекратили продажу ламп КЛЛ, потому что обеспокоены несоответствием стандартов качества зарубежных производителей ламп КЛЛ и использованием ртути в этих лампах.

Быстрое развитие технологии светодиодных ламп привело к появлению на рынке новых светодиодных ламп, которые являются более безопасными, долговечными и более энергоэффективными, чем современные лампы КЛЛ. Цена светодиодных ламп в настоящее время обеспечивает наилучшую экономию в течение всего срока службы лампы по сравнению с КЛЛ или любой другой лампочкой, доступной сегодня.
Energy Efficient Lighting: Related Reading
Когда выключать свет. Срок службы лампы зависит от того, сколько раз свет включается и выключается. Вот несколько рекомендаций, которые помогут вам получить максимальную выгоду от ваших лампочек.
Сравнение стоимости и преимуществ светодиодных ламп, компактных люминесцентных ламп и ламп накаливания. При всем многообразии вариантов ламп сделать выбор может быть непросто. Вот дополнительная информация об особенностях различных доступных стилей и затратах в течение срока службы лампы.
Отключение ламп накаливания
Почему лампы накаливания были сняты с производства? Узнайте больше в этом посте.
Производители указывают срок службы в районе 9-10 тысяч часов, при условии, что включение и выключение будет производиться раз в сутки. Как вы понимаете, в реальности это происходит чаще, но даже при этих условиях ресурс будет не менее 3-3,5 тысяч часов, что в любом случае больше, чем у обычных ЛН.


Колба частично герметизируется.
Как правило, для коммунальных служб производство электроэнергии в определенные периоды высокого спроса или потребления, называемые пиками, обходится дороже.
Подробнее…
Исводный
Некоторые люминесцентные лампы излучают больше синего света, чем обычные.
лампы накаливания и поэтому
лучше имитировать дневной свет.
величина этих полей на типичных рабочих расстояниях остается хорошо
ниже допустимого и типичного для бытовой техники.
Подробнее…
Опасения объяснялись
различные характеристики энергосбережения
компактные люминесцентные лампы
(КЛЛ), а именно мерцание,
ультрафиолетовое излучение и синий свет
они производят и
электромагнитные поля.
Могут ли люминесцентные лампы воздействовать на людей с кожными заболеваниями?
Ожидается, что эти побочные реакции повлияют лишь на относительно небольшой
количество людей, и этого можно было бы избежать, используя двойной конверт
КЛЛ, которые лучше фильтруют
вне ультрафиолетового излучения.
Использование двойного конверта
энергосберегающие лампы в значительной степени или полностью снизят риски для
как население в целом, так и светочувствительные люди.
Подробнее…
На основании этого анализа Комитет
пришли к выводу, что:
Они ввинчиваются в стандартные патроны для ламп и излучают свет, похожий на свет обычных ламп накаливания, а не на флуоресцентное освещение, которое мы ассоциируем с фабриками и школами.
Лампы накаливания теперь доступны только в том случае, если они соответствуют новому энергетическому стандарту.
Когда впервые были разработаны, светодиоды были ограничены использованием одной лампы в таких приложениях, как приборные панели, электроника, фонари-ручки, а в последнее время — цепочки внутренних и наружных рождественских огней.
В новых конструкциях светодиодных ламп это ограничение по направлению устраняется за счет использования рассеивающих линз и отражателей для рассеивания света, более похожего на лампу накаливания.
Поскольку они твердые, светодиодные лампы хорошо выдерживают сотрясения и удары.
Чтобы увидеть сравнение стоимости между различными типами энергосберегающих лампочек, см. наши таблицы сравнения лампочек.
Однако мощность измеряет используемую энергию, а не светоотдачу. Новый метод сравнения ламп — люмен. «Люмен» — это мера воспринимаемой яркости, и чем выше люмен, тем ярче лампа. Лампы с одинаковой мощностью могут различаться в люменах. Федеральная торговая комиссия (FTC) предписала, чтобы на всех упаковках лампочек отображались люмены в качестве основного показателя сравнения лампочек. Дополнительные сведения о люменах см. в разделе «Терминология светодиодов» далее на этой странице.
Лампы, предназначенные для закрытых светильников, прослужат дольше, чем стандартные светодиоды. Ищите явные заявления о том, что лампочка работает внутри закрытых светильников.:format(png)/a6eaff97915206e.s.siteapi.org/img/26943e10895dd4fc824b2b445d1cafb1f0688ddc.png)
Доступные в стандартных цоколях Эдисона, эти лампы имеют множество применений, например, для освещения помещений, веранд, ламп для чтения, акцентных ламп, коридоров и в условиях слабого освещения, где свет остается включенным в течение длительного времени.
Поскольку люминесцентные лампы часто устанавливаются на высоких потолках в коммерческих помещениях, возникает дополнительная экономия, поскольку частота замены ламп значительно снижается.
Идеальный индекс цветопередачи равен 100, и некоторые лампы накаливания приближаются к этому уровню. Светодиоды и компактные люминесцентные лампы используют разные конструктивные компоненты, пытаясь сравняться с CRI ламп накаливания. Рейтинги CRI светодиодных ламп варьируются от 70 до 95, а лучшие КЛЛ имеют рейтинги в середине 80-х. Например, светодиодная лампа CREE CR6 имеет CRI 90 теплый белый, что делает ее одной из самых высоких в отрасли.
В некоторых прожекторах используется внутренний отражатель в колбе, чтобы направить свет вниз. Покупая лампочки, обратите внимание, что лампочки, оснащенные отражателями, обеспечивают более направленный свет.
Относитесь к любой разбитой лампочке как к опасным отходам, что означает использование перчаток и маски и тщательную уборку территории. Упакуйте осколки лампы и любые используемые чистящие средства в двойные пакеты и обратитесь на местный объект по утилизации опасных отходов для получения инструкций о предпочтительном методе их утилизации. Многие, скорее всего, заставят вас просто выбросить его в мусорное ведро, а другие попросят принести его в пункт сбора опасных отходов.
КЛЛ потребляют на 50-80% меньше энергии, чем лампы накаливания.
Они используют редкоземельные люминофоры для превосходного цвета и теплоты. Новые КЛЛ с электронным балластом не мерцают и не гудят.
По мере того, как вы поднимаетесь по шкале числа K, свет становится голубоватым и приближается к дневному свету.
Это позволяет менять трубки без замены балласта. Другие имеют круглые или спиралевидные трубки. Как правило, размер или общая площадь поверхности трубки определяет, сколько света производит лампа.
Лампы заливающего света CFL доступны в различных размерах и мощности.

Эти лампочки следует использовать там, где они будут оставаться включенными в течение устойчивых периодов без включения и выключения.

